Curiosii for ever!: Car repair manuals for everyone.

MICU Input Test




MICU Input Test

NOTE: Check the No. 22 (120 A), No. 23 (60 A), No. 15 (40 A) fuse in the under-hood fuse/relay box before troubleshooting.

1. Before troubleshooting the MICU, troubleshoot the multiplex integrated control system first, using B-CAN System Diagnosis Test Mode A Troubleshooting - B-CAN System Diagnosis Test Mode A.

2. Turn the ignition switch to LOCK (0).

3. Remove the left front door sill trim and left kick panel Service and Repair.

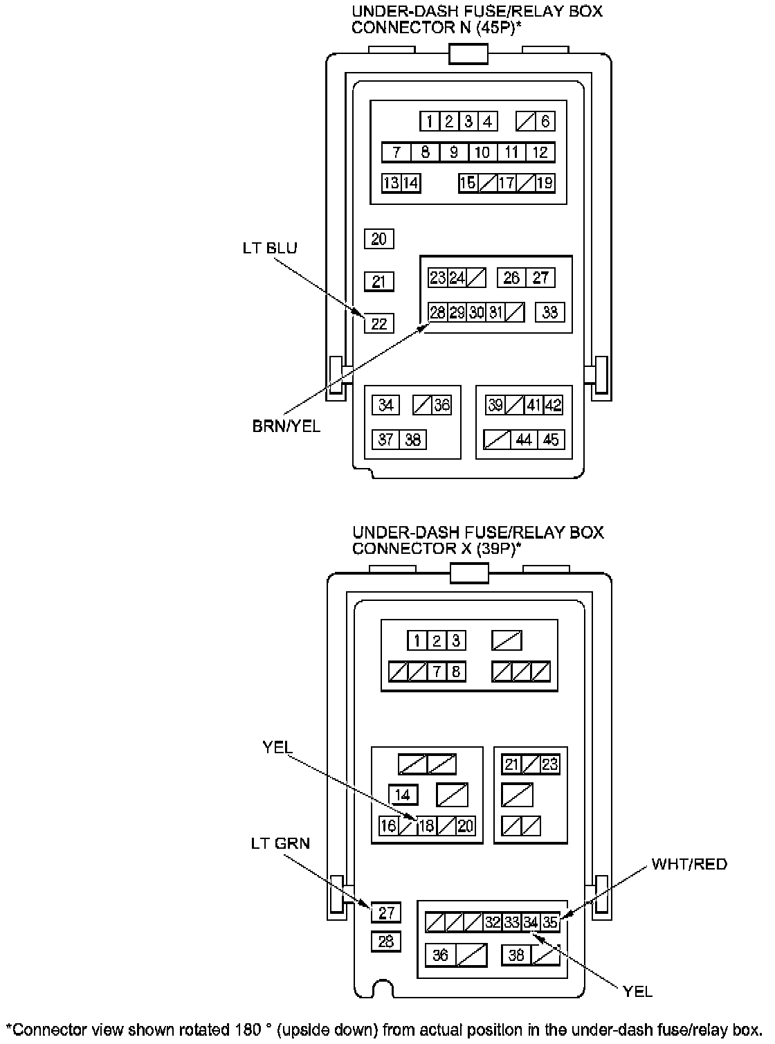
4. Disconnect the under-dash fuse/relay box connectors D, E, H, J, K, N, P, W and X.

NOTE: All connector views are wire side of female terminals.










5. Inspect the connector and socket terminals to be sure they are all making good contact.

- If the terminals are bent, loose or corroded, repair them as necessary, and recheck the system.
- If the terminals look OK, go to step 6.

6. With the connectors still disconnected from the under-dash fuse/relay box, do the following input tests:

- If any test indicates a problem, find and correct the cause, then recheck the system.
- If all the input tests prove OK, go to step 7.









7. Reconnect the connectors to the under-dash fuse/relay box, and do the following input tests:

- If any test indicates a problem, find and correct the cause, then recheck the system.
- If all the input tests prove OK, the MICU must be faulty, replace the under-dash fuse/relay box assembly.