Curiosii for ever!: Car repair manuals for everyone.

Front Passenger's Power Window Switch Replacement




Front Passenger's Power Window Switch Replacement

1. Carefully remove the front passenger's power window switch panel (A).





2. Disconnect the 37P connector (B) from the front passenger's power window switch.

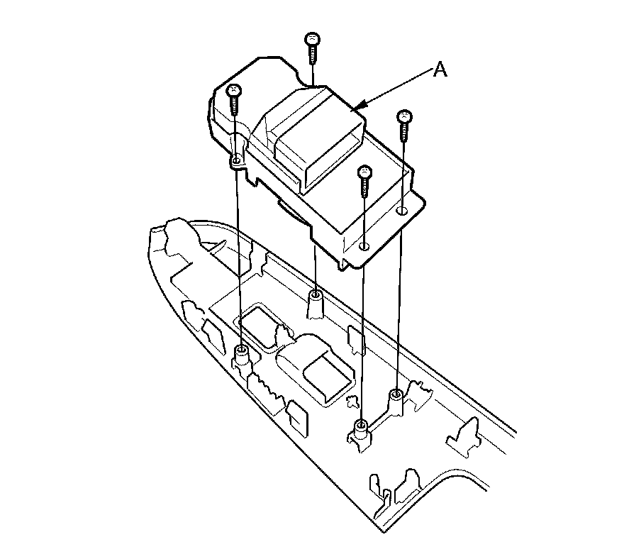
3. Remove the four screws and the front passenger's power window switch (A).






4. Install the switch in the reverse order of removal.

5. Reset the power window control unit Testing and Inspection.