MICU And Door Multiplex Control Unit Input Test
MICU and Door Multiplex Control Unit Input Test
NOTE: Before testing, troubleshoot the multiplex integrated control unit first, using B-CAN System Diagnosis Test Mode A Troubleshooting - B-CAN System Diagnosis Test Mode A, and make sure the lighting system works properly.
MICU
1. Turn the ignition switch to LOCK (0).
2. Remove the driver's dashboard lower cover Driver's Dashboard Lower Cover Removal/Installation.
3. Disconnect under-dash fuse/relay box connectors E, F, K, P, Q, R, and T.
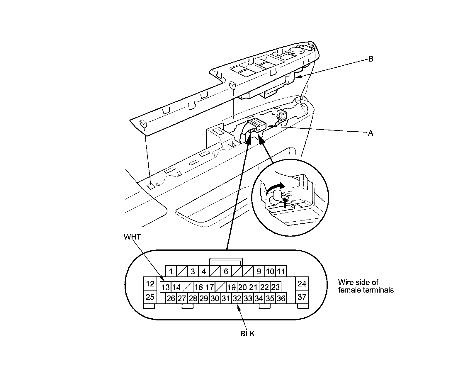
NOTE: All connector views are shown from the wire side of female terminals.
4. Inspect the connector and socket terminals to be sure they are all making good contact.
- If the terminals are bent, loose, or corroded, repair them as necessary and recheck the system.
- If the terminals look OK, go to step 5.
5. With the connectors still disconnected, do the following input tests.
- If any test indicates a problem, find and correct the cause, then recheck the system.
- If all the input tests prove OK, go to step 6.
6. Reconnect the connectors to the under-dash fuse/relay box, and do the following input tests.
- If any test indicates a problem, find and correct the cause, then recheck the system.
- If all the input tests prove OK, go to step 7.
Power Window Master Switch (Door Multiplex Control Unit)
7. Turn the ignition switch to LOCK (0), then remove the power window master switch Power Window Master Switch Replacement.
8. Disconnect the 37P connector (A) from the power window master switch (B).
9. Inspect the connector and socket terminals to be sure they are all making good contact.
- If the terminals are bent, loose, or corroded, repair them as necessary and recheck the system.
- If the terminals look OK, go to step 10.
10. Reconnect the connector to the power window master switch, and do the following input tests.
- If any test indicates a problem, find and correct the cause, then recheck the system.
- If all the input tests prove OK, go to step 11.
11. If multiple failures are found on more than one control unit, replace the under-dash fuse/relay box (includes the MICU) Under-Dash Fuse/Relay Box Removal And Installation. If input failures are related to a particular control unit, replace the control unit.