Curiosii for ever!
: Car repair manuals for everyone.
Home
>>
Honda Truck
>>
2010
>>
Pilot 2WD V6-3.5L
>>
Repair and Diagnosis
>>
Specifications
>>
Mechanical Specifications
>>
Engine
>>
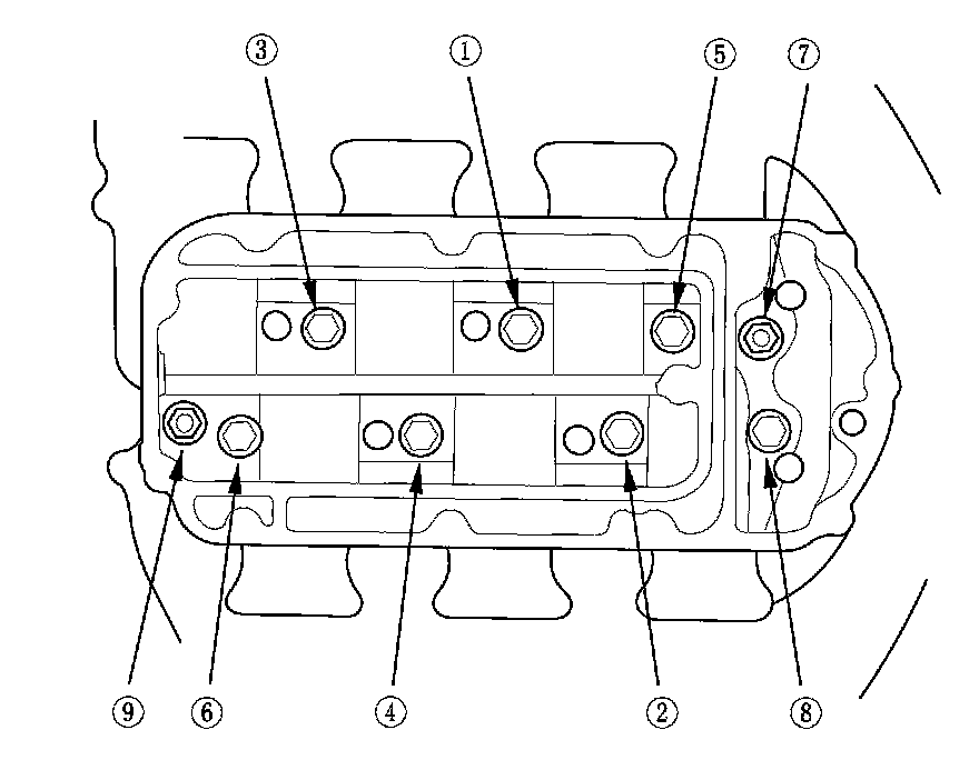
Intake Manifold
Intake Manifold