Curiosii for ever!: Car repair manuals for everyone.

Transmission Position Sensor/Switch: Service and Repair




Transmission Range Switch Replacement

1. Do the battery removal procedure Removal and Replacement.

2. Remove the engine cover and the air cleaner assembly.

3. Remove the battery base.

4. Remove the nuts securing the shift cable bracket (A).





5. Remove the spring clip (B) and the control pin (C), then separate the shift cable end (D) from the selector control lever (E).

6. Disconnect the transmission range switch connector.

7. Pry the lock tab of the lock washer (A) on the selector control lever (B), and remove the nut (C), the lock washer, the spring washer (D), and the selector control lever.





8. Pry the lock tabs of the lock washer (E) on the transmission range switch (F), hold the selector control shaft (G) using a 6.0 mm wrench, and loosen the locknut (H).

9. Remove the locknut and the lock washer, then remove the transmission range switch (two bolts).

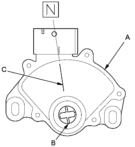
10. Set a new transmission range switch (A) to the N position. The transmission range switch clicks in the N position, and the selector control shaft slot (B) aligns with the N position line (C).






11. With a 6.0 mm wrench, turn the selector control shaft fully counterclockwise (viewed from the shaft end) to the P position. Turn the selector control shaft back two click-stopped positions so that it is in the N position.






12. Install the transmission range switch (A) gently over the selector control shaft (B), and install the bolts loosely.






13. Install a new lock washer (A) over the selector control shaft (B) by aligning the indicator tab (C) of the lock washer with the N positioning line (D) on the transmission range switch (E), and install the locknut (F).






14. Push the locknut (A) against the transmission housing to seat the transmission range switch into the selector control shaft, and tighten the locknut to 12 Nm (1.2 kg-m, 8.7 lb-ft) while holding the selector control shaft (B) using a 6.0 mm wrench (C), then bend the lock tabs (D) of the lock washer against the locknut.





15. Tighten the bolts (E) securing the transmission range switch to 12 Nm (1.2 kg-m, 8.7 lb-ft).

16. Install the selector control lever (A), the spring washer (B), a new lock washer (C), and the locknut (D) on the selector control shaft (E).





17. Tighten the locknut to the specified torque, then bend the lock tab of the lock washer against the locknut.

18. Apply molybdenum grease to the hole in the bushing (A) in the shift cable end (B). Attach the shift cable end to the selector control lever (C), then insert the control pin (D) into the selector control lever hole through the shift cable end, and secure the control pin with the spring clip (E).





19. Secure the shift cable bracket (F) with the nuts.

20. Check the connector for rust, dirt, or oil, and clean or repair if necessary, then connect the connector securely.

21. Install the battery base.

22. Install the air cleaner assembly and the engine cover.

23. Do the battery installation procedure Removal and Replacement.

24. Turn the ignition switch to ON (II). Shift the shift lever through all positions, and verify the transmission range switch match with the A/T gear position indicator.

25. Check that the engine starts in P and N, and does not start in any other shift lever position.

26. Check that the back-up lights come on when the shift lever is in R.

27. Allow the front wheels to rotate freely, then start the engine, and check the shift lever operation.