Curiosii for ever!: Car repair manuals for everyone.

Passenger's Power Window Switch Test/Replacement




Passenger's Power Window Switch Test/Replacement

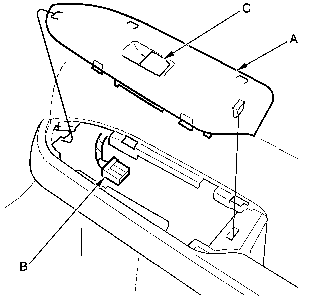
1. Remove the front passenger's switch panel (A).





2. Disconnect the 5P connector (B) from the passenger's power window switch (C).

3. Check for continuity between the terminals in each switch position according to the table.






4. If the continuity is not as specified, remove the two screws and the passenger's power window switch (A).





5. Install the switch in the reverse order of removal.