Curiosii for ever!: Car repair manuals for everyone.

Passengers Power Window Switch Test/Replacement




Passenger's Power Window Switch Test/Replacement

Front Passenger's

1. Remove the front passenger's door panel. Service and Repair

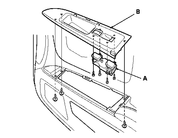
2. Remove the four mounting screws, then remove the power window switch (A) from the switch panel (B).

3. Swap the power window switch with another known-good switch and test. If the original power window switch is faulty; replace it.

4. Install in the reverse order of removal.






Rear

1. Remove the rear door panel. Service and Repair

2. Remove the two mounting screws, then remove the power window switch (A) from the switch panel (B).

3. Swap the rear power window switch with another known-good switch and test. If the original power window switch is faulty; replace it.

4. Install in the reverse order of removal.