Curiosii for ever!: Car repair manuals for everyone.

Navigation Module: Service and Repair




Navigation Unit Removal/Installation

NOTE:

- Before you replace the navigation unit, back-up the customer data using system diagnostic mode save users memory under the functional set up. Navigation System Diagnostic Mode (With Navigation)

- If the navigation unit is replaced or disconnected, a Map Matching must be done. How to Troubleshoot the Navigation System (With Navigation)

1. Turn the ignition switch to ON (II).

2. Eject the DVD from the original navigation unit. Service and Repair To avoid scratching or damaging the DVD, temporarily place the DVD in a jewel case.

3. Turn the ignition switch to LOCK (0).

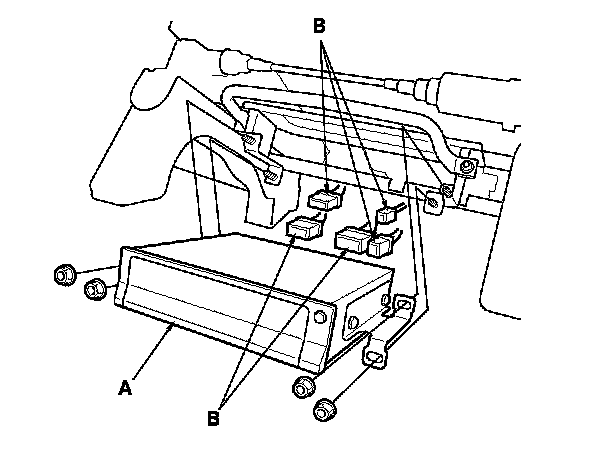
4. Remove the bolts, then pull out the navigation unit (A).

5. Disconnect the connectors (B), then remove the navigation unit.






6. Remove the screws and the bracket (A).

7. Install the navigation unit in the reverse order of removal.

8. Turn the ignition switch to ON (II), then reinstall the customer's original DVD, verifying that the DVD is free of scratches or smudges.

9. Check any official Honda service website for more service information about patches for the navigation system. Apply any prescribed patches to the new navigation unit.

NOTE: Simply transferring the DVD from the original navigation unit to the new navigation unit does not assure the correct software for the vehicle will be loaded into the new navigation unit. Doing the DVD transfer without doing software patches may cause the new navigation unit to appear to be malfunctioning.

10. Enter the new navigation anti-theft code.

11. Park the vehicle outside, and do the GPS initialization. How to Troubleshoot the Navigation System (With Navigation)

12. Give the new navigation anti-theft code to the customer.