Curiosii for ever!: Car repair manuals for everyone.

Front Door Window Regulator: Service and Repair




Front Door Glass and Regulator Replacement

NOTE: Put on gloves to protect your hands.

1. Remove these items:
- Door panel Service and Repair

- Plastic cover, as needed Locations

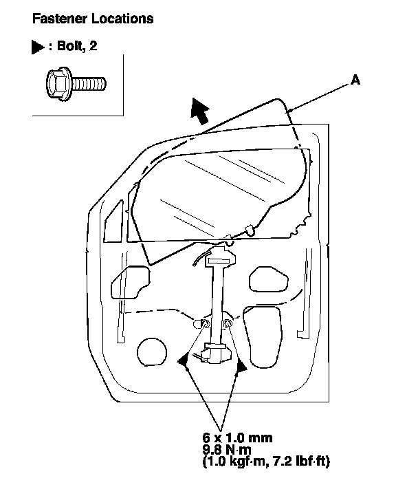
2. Carefully lower the glass (A) until you can see the bolts, then remove them. Carefully pull the glass out through the window slot. Take care not to drop the glass inside the door.






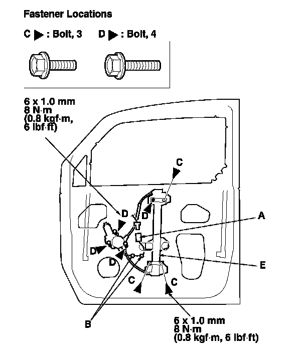
3. Disconnect and detach the connector (A) and the harness clips (B) from the door.

4. Remove the bolts (C), and loosen the bolts (D), then remove the regulator (E) through the hole in the door.






5. Apply multipurpose grease to all the sliding surfaces of the regulator (A) where shown.

6. Install the glass and regulator in the reverse order of removal, and note these items:
- Roll the glass up and down to make sure it moves freely without binding.

- Make sure that there is no clearance between the glass and glass run channel when the glass is closed.

- Adjust the position of the glass as necessary. Adjustments

- When reinstalling the door panel, make sure the plastic cover is installed properly and sealed around its outside perimeter to seal out water.

- Test-drive the vehicle, and check for wind noise and rattles.

- Make sure the power door locks, the windows, and the power mirror operate properly.