Tightening Torques and Sequences
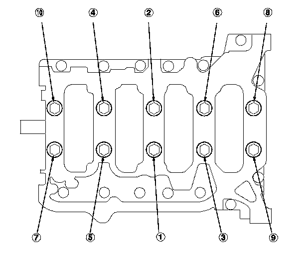
Main Caps
Torque 29 N-m (3.0 kgf-m, 22 lbf-ft)
Tighten bearing cap bolts additional 56°.
Tighten the 8 mm bolts 22 N-m (2.2 kgf-m, 16 lbf-ft).
Main Bearing Selection
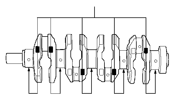
Crankshaft Bore Code Location
Main Journal Code Location
Replacement Bearing Table
Connecting Rod Caps
Torque 20 N-m (2.0 kgf-m, 14 lbf-ft)
Tighten additional 90°.
Crankshaft Pulley
Torque 49 N-m (5.0 kgf-m, 36 lbf-ft)
Tighten additional 90°.
Flex Plate
Tighten in a crisscross pattern in at least two steps
Oil Pump
Water Pump