Curiosii for ever!
: Car repair manuals for everyone.
Home
>>
Honda Truck
>>
2009
>>
CR-V 2WD L4-2.4L
>>
Repair and Diagnosis
>>
Specifications
>>
Mechanical Specifications
>>
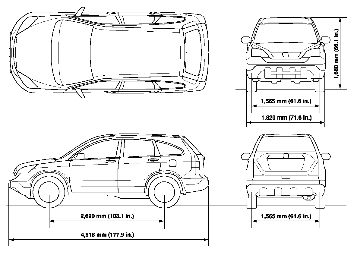
Body Specifications
Body Specifications
Body Specifications