Curiosii for ever!: Car repair manuals for everyone.

Fluids




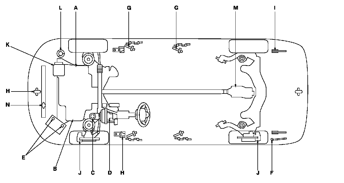
Lubricants and Fluids

For details of lubrication points and type of lubricants to be applied, refer to the illustrated index and various work procedures (such as Assembly/Reassembly, Replacement, Overhaul, Installation, etc.) contained in each section.