Curiosii for ever!: Car repair manuals for everyone.

Information Bus: Description and Operation




Multiplex Integrated Control System Description

MICU Control Functions Index

The MICU (built into the under-dash fuse/relay box) is one of the B-CAN components. The MICU controls many systems related to the body controller area network, and also works as a gateway to diagnose the other B-CAN circuits with the HDS.

Refer to each system circuit diagram for details.





The MICU also controls the function of these circuits:

- Entry lights (map lights and ceiling light)

- Exterior lights (including the daytime running lights)

- Horn

- Interlock system

- Key-in reminder

- Keyless entry

- Lights-on reminder

- Power door locks

- Power window key-off timer

- Seat belt reminder

- Security alarm

- Turn signal/hazard warning lights

- Wiper/washer

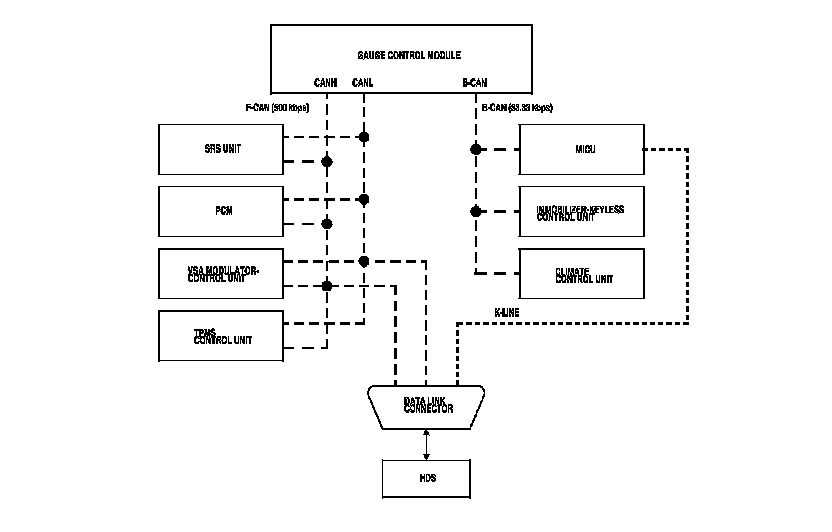
Body Controller Area Network (B-CAN) and Fast Controller Area Network (F-CAN)

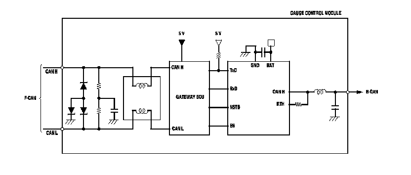
The body controller area network (B-CAN) and the fast controller area network (F-CAN) share information between multiple electronic control units (ECUs). B-CAN communication moves at a slower speed (33.33 kbps) for convenience related items and for other functions. F-CAN information moves at a faster speed (500 kbps) for "real time" functions such as fuel and emissions data. To allow both systems to share information, the gauge control module translates information from B-CAN to F-CAN and from F-CAN to B-CAN.






- The single wire method is used between the units not requiring the communication to move at a fast speed.

- Using a single wire method reduces the number of the wires used on the body controller area network.

Gateway Function

The gauge control module acts as a gateway to allow both systems to share information, the gauge control module translates information from B-CAN to F-CAN and from F-CAN to B-CAN.






Network "Loss of Communication" Error Checking Function

The ECUs on the CAN circuit send messages to each other. If there are any communication malfunctions on the network, the odometer display on the gauge control module can indicate the error messages by entering the gauge self-diagnostic function. Initial Inspection and Diagnostic Overview

Error Code List





NOTE: For further information about Error indication, refer to the gauge control module self-diagnostic function. Initial Inspection and Diagnostic Overview






Self-diagnostic Function

By connecting the HDS to the data link connector (DLC), the HDS can retrieve the diagnostic information from the MICU via a diagnostic line called K-LINE. The K-LINE is separated from the CAN line, but it is connected to the CAN related ECUs. The MICU is a gateway between the HDS and B-CAN related ECUs, and sends B-CAN diagnostic information to the HDS. When doing a function test with the HDS, the HDS sends an output signal through the K-LINE to the MICU. The MICU either relays the request to another ECU, or commands the function its self.






Wake-up and Sleep Function

The multiplex integrated control system has wake-up and sleep functions to decrease parasitic draw on the battery when the ignition switch is in the LOCK (0) position.

- In the sleep mode, the MICU stops functioning (communication and CPU control) when it is not necessary for the system to operate.

- As soon as any operation is requested (for example, a door is unlocked), the related control unit in the sleep mode immediately wakes up and begins to function.

- When the ignition switch is turned to LOCK (0), and the driver's door is opened, then closed, there is a delay of about 40 seconds before the control unit goes from the wake-up mode to the sleep mode.

- The sleep mode will not function if any door is opened or if a key is in the ignition.

- The draw is reduced from 200 mA to less than 35 mA when in the sleep mode.

NOTE: Sleep and Wake-up Mode Test. Multiplex Integrated Control System Sleep and Wake-up Mode Test

Fail-safe Function

To prevent improper operation, the MICU has a fail-safe function. In the fail-safe mode, the output signal is fixed when any part of the system malfunctions (for example, a faulty control unit or communication line).

Each control unit has a hardware fail-safe function that fixes the output signal when there is a CPU malfunction, and a software fail-safe function that ignores the signal from a malfunctioning control unit, which allows the system to operate normally.

Hardware Fail-safe Control

Fail-safe function

When a CPU problem or a abnormal power supply voltage is detected, the MICU moves to the hardware fail-safe mode, and each system output load is set to the pre-programmed fail-safe value.

Software Fail-safe Control

When any of the data from the B-CAN circuit cannot be received within a specified time, or an unusual combination of the data is recognized, the MICU moves to the software fail-safe mode. The data that cannot be received is forced to a pre-programmed value.

Power Supply Voltage Monitoring Function

The MICU monitors the power supply voltage (back-up voltage). If the voltage goes below 10 V, the MICU will not store DTCs.





Entry Lights Control System (Ceiling Lights, Map Lights, Ignition Key Light)

The MICU control of the ceiling light ON/OFF is based on the input signals from each switch.





Cargo Area Lights Control

The MICU control of the cargo area light ON/OFF is based on the input signals from each switch.





Collision Detection Signal (CDS)

The MICU control of the door lock actuators is based on the IG1 and the SRS signals.





Key Interlock

The MICU control of the key interlock solenoid is based on the ignition switch (ACC), the transmission range switch, and the park-pin switch signals.





Key-in Reminder

The MICU control of the door lock actuators is based on the ignition key switch, the driver's door switch, and the driver's door lock knob switch signals.





Power Window Timer Operation

The MICU control of the power window key-off timer is based on the ignition key switch, driver's and front passenger's door switch signals.





Headlight

The MICU control of the headlight is based on the input signals from each switch.





Daytime Running Lights

The MICU control of the exterior lights as daytime running lights is based on the input signals from each switch.





Turn Signal/Hazard Warning Lights

The MICU control of the turn signal/hazard warning lights is based on the input signals from the turn signal switch and the hazard warning switch.





Turn Signal One Touch Operation

The MICU control of the turn signal switch is based on the input signals from the turn signal switch.





Windshield Wiper

The MICU control of the windshield wiper is based on the input signals from each switch.





Windshield Wiper (Vehicle Speed Sensor)

The MICU control of the windshield wiper is based on the input signals from each switch.





Rear Window Wiper

The MICU control of the rear window wiper is based on the input signals from each switch.





Windshield/Rear Window Washer

The MICU control of the washer operation is based on the input signals from washer switches.





Answer Back Response Operation (Part 1)

The MICU control of the lighting system and horn is based on the B-CAN signals.





Answer Back Response Operation (Part 2)

The MICU control of the lighting system and horn is based on the B-CAN signals.





Power Door Locks (1 motion all doors and tailgate unlock)

The MICU control of the door lock actuators is based on the input signals of each switch.





Power Door Locks (2 motions all doors and tailgate unlock)

The MICU control of the door lock actuators is based on the input signals of each switch.





Door Lock Response Operation

The MICU control of the door lock actuators is based on the B-CAN signals.





Keyless Entry System (1 motion all doors and tailgate unlock)

The MICU control of the door lock actuators is based on the input signals of each switch and the B-CAN signals.





Keyless Entry System (2 motions all doors and tailgate unlock)

The MICU control of the door lock actuators is based on the input signals of each switch and the B-CAN signals.





Keyless PANIC Operation

The MICU control of the keyless PANIC operation is based on the B-CAN signals.





Power Door Locks (Lock operation)

The MICU control of the door lock actuators is based on the input signals from each switch.





Power Door Locks (UNLOCK operation)

The MICU control of the door lock actuators is based on the input signals from each switch.





Security Alarm System

The MICU control of the lighting system and horns is based on the input signals of each switch and the B-CAN signals.





Tailgate Outer Handle Operation (1 motion all doors and tailgate unlock)

The MICU control of the tailgate release actuator is based on the tailgate outer handle switch and the driver's door lock knob switch signals.





Tailgate Outer Handle Switch Operation (2 motions all doors and tailgate unlock)

The MICU control of the tailgate release actuator is based on the tailgate outer handle switch and the door lock knob switch signals.





HDS Inputs and Commands

Certain inputs happen so quickly that the Data List on the HDS cannot update fast enough. Hold the switch that is being tested while monitoring the Data List. This should give the HDS time to update the signal on the Data List.

Because the HDS software is updated to support the release for newer vehicles, it is not uncommon to see system function tests that are not supported.

Make sure that the most current software is loaded.

Input:





















Function Test: