Curiosii for ever!: Car repair manuals for everyone.

MICU Input Test

MICU Input Test

NOTE: Check the No.22 (120 A), No.23 (50 A), No.15 (40 A) fuse in the under-hood fuse/relay box before troubleshooting.

1. Before troubleshooting the multiplex integrated control system, troubleshoot the B-CAN System Diagnosis Test mode A.
2. Turn the ignition switch OFF.
3. Remove the left front door sill trim and left kick panel.
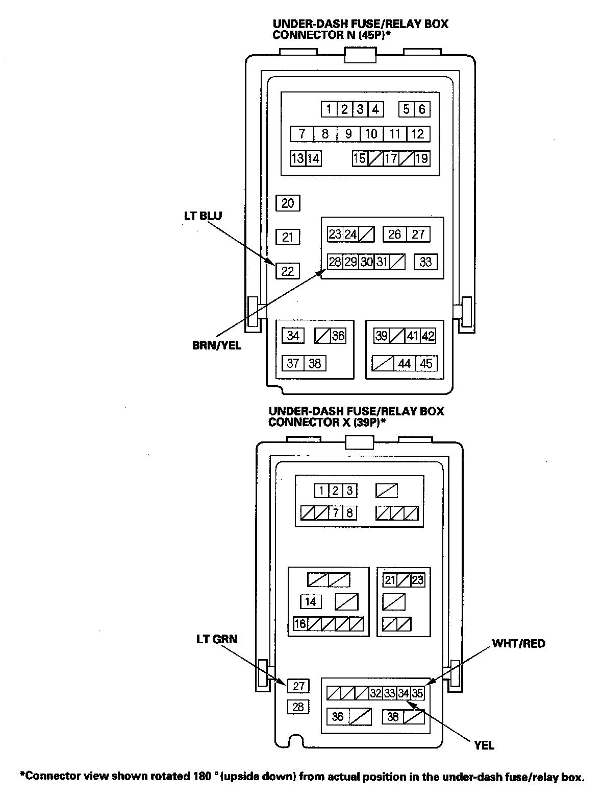
4. Disconnect the under-dash fuse/relay box connectors.









NOTE: All connector views are wire side of female terminals.

5. Inspect the connector and socket terminals to be sure they are all making good contact.
- If the terminals are bent, loose or corroded, repair them as necessary, and recheck the system.
- If the terminals look OK, go to step 6.

6. With the connectors still disconnected from the under-dash fuse/relay box, make these input tests at the connector(s).
- If any test indicates a problem, find and correct the cause, then recheck the system.
- If all the input tests prove OK, go to step 7.

Part 1:




Part 2:






7. Reconnect the connectors to the under-dash fuse/relay box, and make sure these input tests at the appropriate connectors on the under-dash fuse/relay box.
- If any test indicates a problem, find and correct the cause, then recheck the system.
- If all the input tests prove OK, the MICU must be faulty, replace the under-dash fuse/relay box assembly.