Curiosii for ever!: Car repair manuals for everyone.

Cruise Control Set/Decel, Resume/Accel, Cancel Switch Test/Replacement

Cruise Control Set/decel, Resume/accel, Cancel Switch Test/Replacement

SRS components are located in this area. Review the SRS component locations, and the precautions and procedures, in the SRS before doing repairs or service.

1. Remove the driver's airbag.
2. Remove the steering wheel.
3. Remove the steering wheel trim.






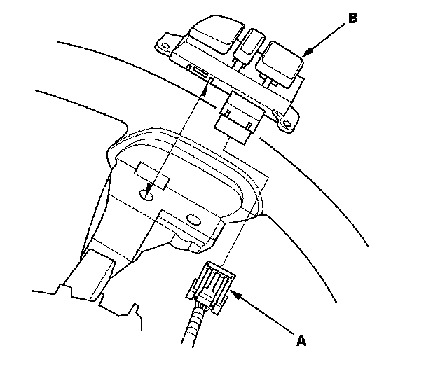
4. Disconnect the 7P connector (A), then remove the cruise control set/decel, resume/accel, cancel switch (B).






5. Check for continuity between the terminals in each switch position according to the table.

- If there is continuity, and it matches the table, but switch failure occurred on the cruise control input test, check and repair the wire harness on the switch circuit.
- If there is no continuity in one or more positions, replace the switch.