Curiosii for ever!: Car repair manuals for everyone.

Passenger's Power Window Switch Test/Replacement

Passenger's Power Window Switch Test/Replacement

Front Passenger's


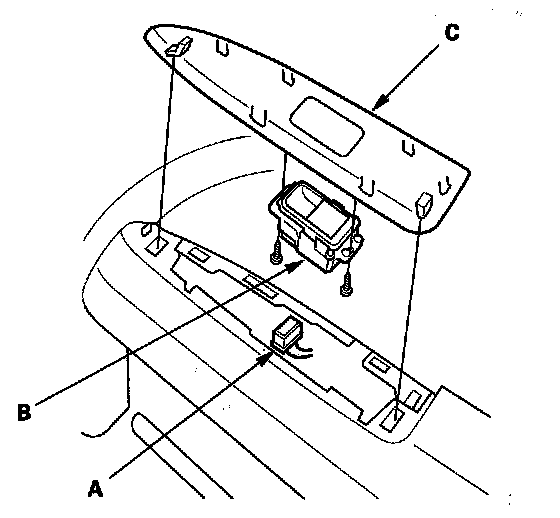
1. Remove the front passenger's door panel.
2. Remove the screw and disconnect the 10P connector (A) from the power window switch (B), then remove the switch assembly from the door panel.






3. Remove the four mounting screws, then remove the power window switch from the switch panel (C).
4. Swap the window switch with another known-good switch and test. If the original power window switch is faulty; replace it.
5. Install in the reverse order of removal.

Rear

1. Remove the sliding door panel.
2. Remove the screw and disconnect the 6P connector (A) from the power window switch (B), then remove the switch assembly from the door panel.






3. Remove the two mounting screws, then remove the power window switch from the switch panel (C).
4. Swap the rear power window switch with another known-good switch and test. If the original power window switch is faulty; replace it.
5. Install in the reverse order of removal.