Curiosii for ever!: Car repair manuals for everyone.

General Specifications

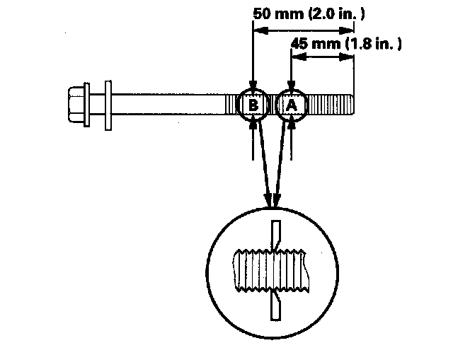
Cylinder Head

Torque in sequence 39 Nm (4.0 kgf-m, 29 lbf-ft).





After torquing, tighten all cylinder head bolts in two steps (90° per step). If you are using a new cylinder head bolt, tighten the bolt an extra 90°.





Measure the diameter of each cylinder head bolt at point A and point B.





If either diameter is less than 10.6 mm (0.42 in.), replace the cylinder head bolt.

Camshaft





Main Bearing

Torque 29 N-m (3.0 kgf-m, 22 lbf-ft)





Tighten additional 56°.

Connecting Rod Bearing

Torque 20 N-m (2.0 kgf-m, 14 lbf-ft)
Tighten additional 90°.





Crankshaft Pulley

Torque 49 N-m (5.0 kgf-m, 36 lbf-ft)
Tighten additional 90°.

Water Pump