Curiosii for ever!: Car repair manuals for everyone.

Power and Ground Distribution: Testing and Inspection

Power Relay Test




Use this chart to identify the type of relay, then do the test listed for it.

NOTE: The turn signal/hazard relay input test, refer to Lighting and Horns




Normally-open type A

Check for continuity between the terminals.

- There should be continuity between the No. 1 and No. 2 terminals when battery positive terminal is connected to the No. 4 terminal, and battery negative terminal is connected to the No. 3 terminal.
- There should be no continuity between the No. 1 and No. 2 terminals when power is disconnected.




Normally-open type B

Check for continuity between the terminals.

- There should be continuity between the No. 1 and No. 2 terminals when battery positive terminal is connected to the No. 4 terminal, and battery negative terminal is connected to the No. 3 terminal.
- There should be no continuity between the No. 1 and No. 2 terminals when power is disconnected.




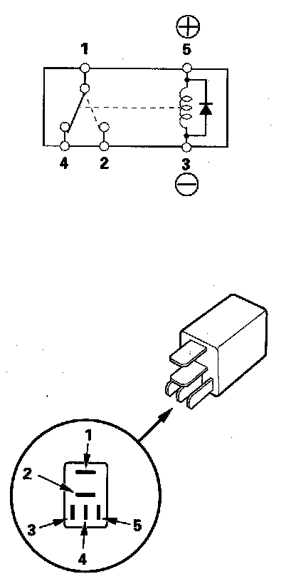
Five-terminal type

Check for continuity between the terminals.

- There should be continuity between the No. 1 and No. 2 terminals when battery positive terminal is connected to the No. 5 terminal, and battery negative terminal is connected to the No. 3 terminal.
- There should be continuity between the No. 1 and No. 4 terminals when power is disconnected.