Curiosii for ever!: Car repair manuals for everyone.

Window Seal: Service and Repair

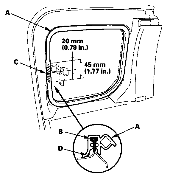
Rear Door Glass Seal Replacement

1. Remove the bolts securing the glass lock.




2. Remove the glass seal (A) by pulling out on it.
3. Apply clear sealant (B) into the channel of the joint (C).

Sealant: Cemedine P/N 08712-0004, or equivalent

4. Locate the painted alignment mark (D) on the joint. Align the painted mark with the center of the glass opening, and install the glass seal all the way around.
5. Check for water leaks.
6. Test-drive and check for wind noise.