Curiosii for ever!: Car repair manuals for everyone.

Master Switch Test/Replacement

Master Switch Test/Replacement

1. Remove the switch panel.
2. Remove the door handle.




3. Disconnect the 20P connector from the power window master switch.




4. Check for continuity between the terminals in each switch position according to the tables.

Driver's Switch:

The driver's switch is combined with the control unit so you cannot isolate the switch to test it. Instead, do the master switch input test. If the tests are normal, the driver's switch must be faulty.

NOTE: Reset the power window control unit if you disconnect the switch or replace it.




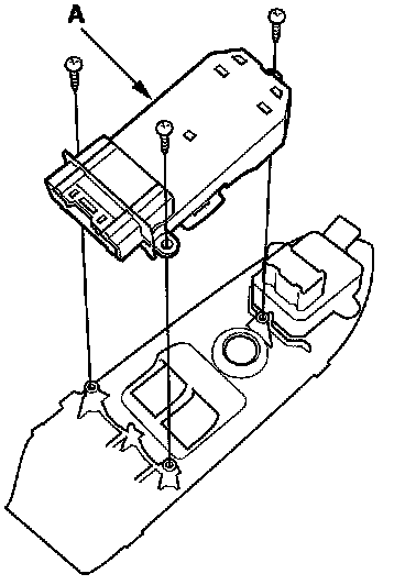
5. If the continuity is not as specified, remove the three screws and replace the switch (A).