Curiosii for ever!: Car repair manuals for everyone.

Receiver Dryer: Service and Repair

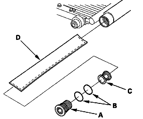
Receiver/Dryer Desiccant Replacement

1. Remove the A/C condenser.




2. Remove the cap (A) from the bottom of the A/C condenser, then remove the O-rings (B), the filter (C) and the desiccant (D).
3. Install the desiccant in the reverse order of removal, and note these items:
- Replace the O-rings with new ones, and apply a thin coat of refrigerant oil (DENSO ND-OIL 8) before installing them.
- Be sure to use the correct O-rings for HFC-134a (R-134a) to avoid leakage.