Curiosii for ever!: Car repair manuals for everyone.

Back Window Glass: Service and Repair

Rear Window Replacement

NOTE:
- Put on gloves to protect your hands.
- Wear eye protection when removing the glass with piano wire.
- Use seat covers to avoid damaging any surfaces.
- Do not damage the rear window defogger grid lines and terminals.

1. Remove these items:
- Tailgate lower trim panel
- High mount brake light
- Rear window washer nozzle
- Rear window wiper arm




2. Remove the lower rubber dam (A) and side rubber dams (B) from the edges of the rear window (C). If necessary, cut the rubber dams with a utility knife.




3. Disconnect the rear window defogger connectors (A).




4. If the old rear window is to be reinstalled, make alignment marks (A) across the glass and body with a grease pencil.
5. Apply protective tape along the inside and outside edges of the tailgate. Using an awl, make a hole through the adhesive from inside the vehicle at the corner portion of the rear window. Push the piano wire through the hole, and wrap each end around a piece of wood.







6. With a helper on the outside, pull the piano wire (A) back and forth in a sawing motion. Hold the piano wire as close to the rear window (B) as possible to prevent damage to the tailgate, and carefully cut through the adhesive (C) around the entire rear window.
7. Carefully remove the rear window.
8. With a putty knife, scrape the old adhesive smooth to a thickness of about 2 mm (0.08 in.) on the bonding surface around the entire rear window opening flange:
- Do not scrape down to the painted surface of the body; damaged paint will interfere with proper bonding.
- Remove the fasteners from the tailgate.

9. Clean the tailgate bonding surface with a sponge dampened in isopropyl alcohol. After cleaning, keep oil, grease and water from getting on the surface.
10. If the old rear window is to be reinstalled, use a putty knife to scrape off all of the old adhesive, the fasteners and the rubber dams from the rear window. Clean the inside face and the edge of the rear window with isopropyl alcohol where new adhesive is to be applied. Make sure the bonding surface is kept free of water, oil, and grease.




11. Attach the fasteners (A), upper rubber dam (B), side rubber dams (C), and lower rubber dam (D) with adhesive tape to the inside face of the rear window (E) as shown. Before installing the side and lower rubber dams, apply primer to the inside face of the rear window.
- Be sure the fasteners and upper rubber dam line up with alignment marks (F).
- Be careful not to touch the rear window where adhesive will be applied.

12. Cut the excess side rubber dam and lower rubber dam along both beveled edges of the rear window.




13. Attach the fasteners (A, B) with adhesive tape to the tailgate as shown.




14. Set the rear window (A) in the opening, and center it. Make alignment marks (B) across the rear window and body with a grease pencil at the four points shown. Make sure both clips (C) contact with the holes of the tailgate corner. Be careful not to touch the rear window where adhesive will be applied.
15. Remove the rear window.




16. With a sponge, apply a light coat of glass primer around the edge of the rear window (A) and along the rubber dams (B) as shown, then lightly wipe it off with gauze or cheesecloth:
- With the printed dots (C) on the rear window as a guide, apply the glass primer to both side portions of the rear window.
- Do not apply body primer to the rear window, and do not get tailgate and glass primer sponges mixed up.
- Never touch the primed surfaces with your hands. If you do, the adhesive may not bond to the rear window properly, causing a leak after the rear window is installed.
- Keep water, dust, and abrasive materials away from the primed surface.




17. With a sponge, apply a light coat of body primer to the original adhesive remaining around the rear window opening flange. Let the body primer dry for at least 10 minutes:
- Be careful not to mix up the body and glass primer sponges.
- Never touch the primed surfaces with your hands.




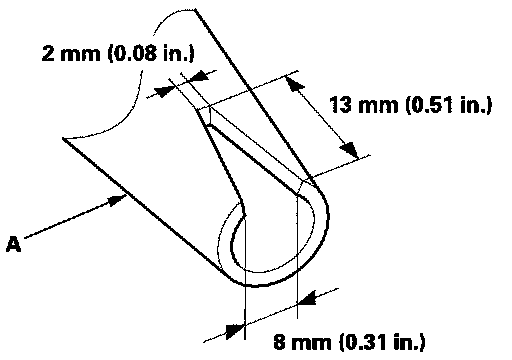
18. Cut a "V" in the end of the adhesive cartridge nozzle (A) as shown.




19. Put the cartridge in a caulking gun, and run a bead of adhesive (A) on the glass primer trace (B) around the edge of the rear window (C) and along the rubber dams (D) as shown. Apply the adhesive within 30 minutes after applying the glass primer. Make a slightly thicker bead at each corner.
20. Use suction cups to hold the rear window over the opening, align it with the alignment marks you made in step 14, and set it down on the adhesive. Lightly push on the rear window until its edges are fully seated on the adhesive all the way around.

NOTE: Do not open or close any of the doors for about an hour until the adhesive is dry.

21. Scrape or wipe the excess adhesive off with a putty knife or towel. To remove adhesive from a painted surface or the rear window, use a soft shop towel dampened with isopropyl alcohol.
22. After the adhesive has dried, spray water over the rear window and check for leaks. Mark the leaking areas, let the rear window dry, then seal with sealant. Let the vehicle stand for at least 4 hours after rear window installation. If the vehicle has to be used within the first 4 hours, it must be driven slowly.
23. Reinstall all remaining removed parts.

NOTE: Advise the customer not to do the following things for 2 to 3 days:
- Slam the doors with all the windows rolled up.
- Twist the body excessively (such as when going in and out of driveways at an angle or driving over rough,uneven roads).