Curiosii for ever!: Car repair manuals for everyone.

Back Window Switch Test/Replacement

Back Window Switch Test/Replacement

1. Remove the driver's door panel.




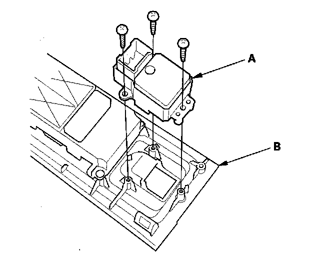
2. Remove the three mounting screws, then remove the back window main switch (A) from the switch panel (B).
3. Swap the back window main switch with another known-good switch and test. If the original back window main switch is faulty; replace it.
4. Install in the reverse order of removal.
5. Reset the power window control unit.