Curiosii for ever!: Car repair manuals for everyone.

Windshield: Service and Repair

Windshield Replacement

Special Tools Required
KTC trim tool set SOJATP2014 *
* Available through the American Honda Tool and Equipment Program.

NOTE:
- Put on gloves to protect your hands.
- Use the appropriate tool from the KTC trim tool set to avoid damage when prying components.
- Wear eye protection while cutting the glass adhesive with a piano wire.
- Use seat covers to avoid damaging any surfaces.
- When replacing a broken windshield, a commercially available windshield cutter can be efficiently used for cutting the adhesive. For details, follow the instructions of the tool manufacturer.

1. Remove these items:
- Rearview mirror
- A-pillar trim, both sides
- Windshield wiper arms
- Cowl covers




2. Remove the molding (A) from the edge of the windshield (B). If necessary, cut the molding with a utility knife.
3. If the old windshield will be reinstalled, make alignment marks across the glass and body with a grease pencil.
4. Pull down the front portion of the headliner. Take care not to bend the headliner excessively, as you may crease or break it.
5. Apply protective tape along the edge of the dashboard and body. Using an awl, make a hole through the rubber dam, adhesive, and dashboard seal from inside the vehicle at the corner portion of the glass. Push a piece of piano wire through the hole, and wrap each end around a piece of wood.







6. With a helper on the outside, pull the piano wire (A) back and forth in a sawing motion. Hold the piano wire as close to the windshield (B) as possible to prevent damage to the body and dashboard. Carefully cut through the rubber dam and adhesive (C) around the entire windshield.
7. Carefully remove the windshield.
8. With a knife, scrape the old adhesive smooth to a thickness of about 2 mm (0.08 in.) on the bonding surface around the entire windshield opening flange:
- Do not scrape down to the painted surface of the body; damaged paint will interfere with proper bonding.
- Remove the rubber dam and fasteners from the body.

9. Clean the body bonding surface with a sponge dampened in alcohol. After cleaning, keep oil, grease and water from getting on the clean surface.
10. If the old windshield will be reinstalled, use a putty knife to scrape off all of the old adhesive, the rubber dam, and the dashboard seal from the windshield. Clean the inside face and the edge of the windshield with alcohol where new adhesive will be applied. Make sure the bonding surface is kept free of water, oil, and grease.




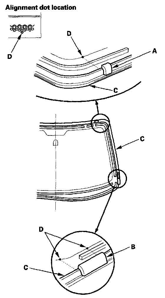
11. Attach the upper rubber dam (A), side rubber dam (B), and lower rubber dam (C) with adhesive tape where the clips (D) will be applied, then attach the clips with adhesive tape and dashboard seal (E) to the inside face of the windshield (F) as shown:
- Be sure the side rubber dam, lower rubber dam, and dashboard seal line up with the alignment marks (G).
- Be careful not to touch the windshield where adhesive will be applied.




12. Apply primer to the edge of the windshield between the alignment marks (A). Be careful not to touch the windshield where adhesive will be applied.




13. Attach the molding (A) with adhesive tape (B) to the edge of the windshield (C):
- Be sure the alignment mark (D) of the molding lines up with the alignment mark (E) of the windshield.
- Be careful not to touch the windshield where adhesive will be applied.




14. Attach the molding upper seal (A) and molding side seal (B) to the inside surface of the molding (C) with adhesive tape as shown:
- Be sure the molding upper seal and molding side seal line up with the alignment dots (D).
- Be careful not to touch the windshield where adhesive will be applied.




15. Install the clips to the body.




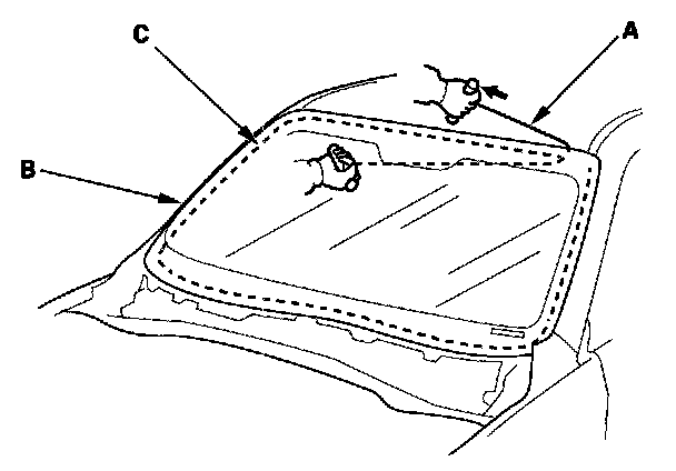
16. Set the windshield in the opening, and center it. Make alignment marks (A) across the windshield and body with a grease pencil at the four points shown. Be careful not to touch the windshield where adhesive will be applied.
17. Remove the windshield.




18. With a sponge, apply a light coat of glass primer around the edge of the windshield (A) between the upper rubber dam (B), side rubber dam (C), lower rubber dam (D), and molding (E) as shown, then lightly wipe it off with gauze or cheesecloth:
- Apply glass primer to the molding.
- Do not apply body primer to the windshield, and do not get body and glass primer sponges mixed up.
- Never touch the primed surfaces with your hands. If you do, the adhesive may not bond to the windshield properly, causing a leak after the windshield is installed.
- Keep water, dust, and abrasive materials away from the primed surfaces.




19. With a sponge, apply a light coat of body primer to the original adhesive remaining around the windshield opening flange. Let the body primer dry for at least 10 minutes:
- Do not apply body primer to any remaining original adhesive on the flange.
- Be careful not to mix up the body and glass primer sponges.
- Never touch the primed surfaces with your hands.
- Mask off the dashboard before priming the flame.




20. Before filling a cartridge, cut a "V" in the end of the nozzle (A) as shown.




21. Pack adhesive into the cartridge without air pockets to ensure continuous delivery. Put the cartridge in a caulking gun, and run a bead of adhesive (A) around the edge of the windshield (B) between the upper rubber dam (C), side rubber dam (D), lower rubber dam (E), and molding (F) as shown. Apply the adhesive within 30 minutes after applying the glass primer. Make a slightly thicker bead at each corner.
22. Use suction cups to hold the windshield over the opening, align it with the alignment marks made in step 16, and set it down on the adhesive. Lightly push on the windshield until its edges are fully seated on the adhesive all the way around.

NOTE: Do not open or close any of the doors for about an hour until the adhesive is dry.

23. Scrape or wipe the excess adhesive off with a putty knife or towel. To remove adhesive from a painted surface or the windshield, wipe with a soft shop towel dampened with alcohol.
24. Let the adhesive dry for at least 1 hour, then spray water over the windshield and check for leaks. Mark leaking areas, and let the windshield dry, then seal with sealant:
- Let the vehicle stand for at least 4 hours after windshield installation. If the vehicle has to be used within the first 4 hours, it must be driven slowly.
- Keep the windshield dry for the first hour after installation.

25. Reinstall all remaining removed parts. Install the rearview mirror after the adhesive has dried thoroughly.

NOTE: Advise the customer not to do the following things for 2 to 3 days:
- Slam the doors with all the windows rolled up.
- Twist the body excessively (such as when going in and out of driveways at an angle or driving over rough,uneven roads).