Curiosii for ever!: Car repair manuals for everyone.

Power Window Switch: Service and Repair

Passenger's Window Switch Test/Replacement

1. Remove the passenger's door panel.
2. Remove the switch panel.




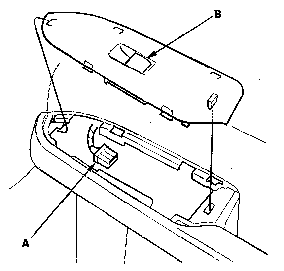
3. Disconnect the 5P connector (A) from the front passenger's power window switch (B).




4. Remove the two screws and the passenger's power window switch.




5. Check for continuity between the terminals in each switch position according to the table.
6. If the continuity is not as specified, replace the switch.