Curiosii for ever!: Car repair manuals for everyone.

Cruise Control Servo Cable: Adjustments

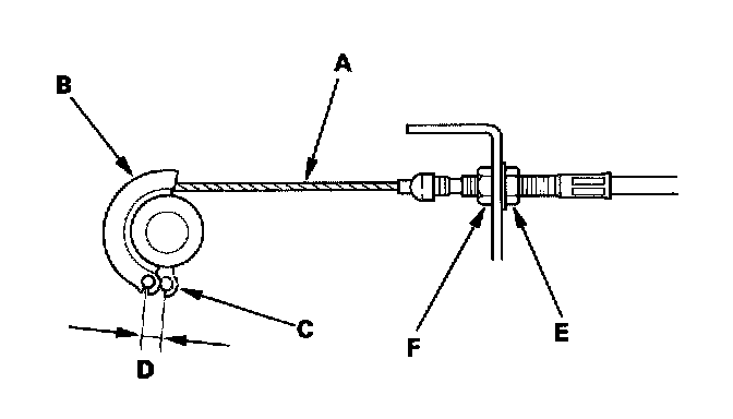
Cruise Control Actuator Cable Adjustment




1. Check that the actuator cable (A) moves smoothly with no binding or sticking.
2. Measure the amount of movement of the output linkage (B) until the engine speed starts to increase. At first, the output linkage should be located at the fully closed position (C). The free play (D) should be 3.75 ± 0.5 mm (0.15 ± 0.02 in.).
3. If the free play is not within specs, loosen the locknut (E), and turn the adjusting nut (F) until the free play is as specified, then retighten the locknut.