Master Switch Replacement
Master Switch Replacement1. Carefully pry off the driver's door switch trim.
2. Disconnect the power mirror and power window switch connectors (A).
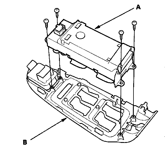
3. Remove the four mounting screws, then remove the master switch (A) from the panel (B).