Curiosii for ever!: Car repair manuals for everyone.

Master Switch Replacement

Master Switch Replacement

1. Remove the driver's door panel.




2. Remove the screw and disconnect the 23P connector (A) and 13P connector (B) from the master switch panel (C), then remove the switch assembly from the door panel.




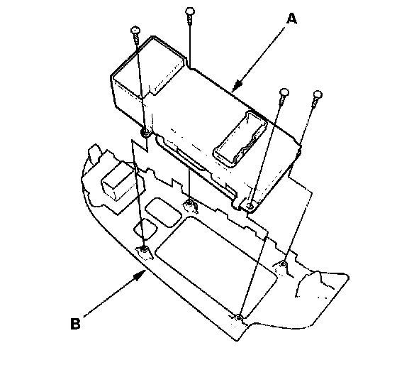
3. Remove the four mounting screws, then remove the master switch (A) from the switch panel (B)
4. Install in the reverse order of removal.
5. Reset the power window control unit.