Curiosii for ever!
: Car repair manuals for everyone.
Home
>>
Honda Truck
>>
2005
>>
Element 2WD L4-2.4L
>>
Repair and Diagnosis
>>
Power and Ground Distribution
>>
Relay Box
>>
Application and ID
>>
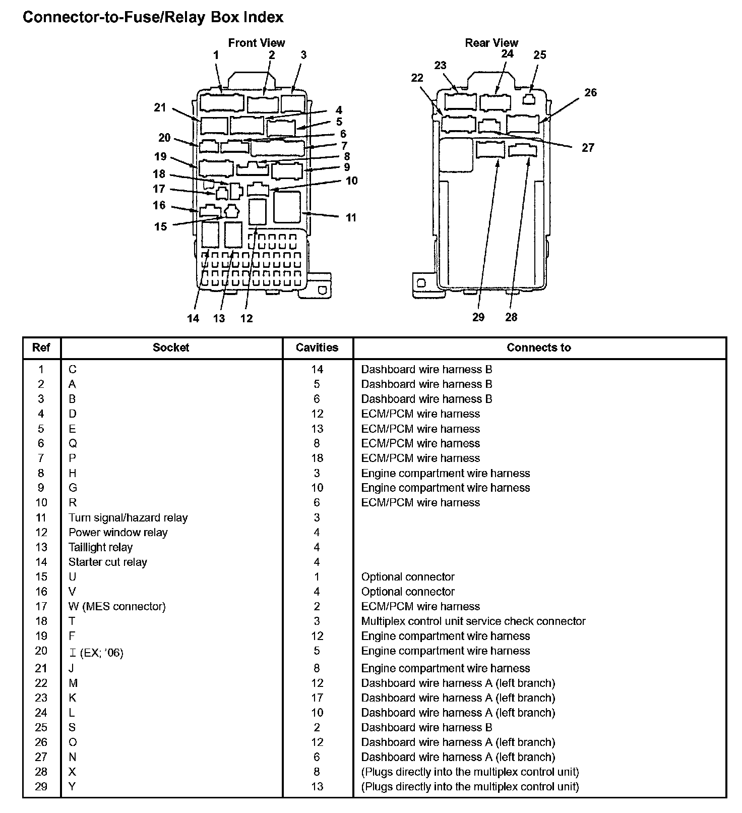
Under-Dash Fuse/Relay Box
Under-Dash Fuse/Relay Box
Under-dash Fuse/Relay Box: