Map Light: Service and Repair
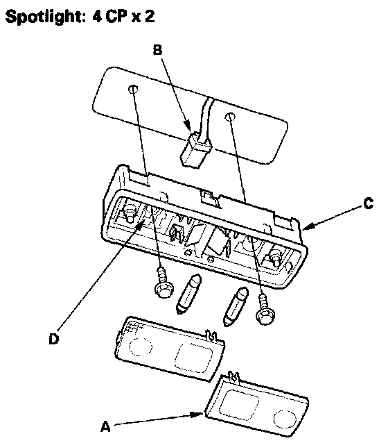
Spotlight Test/Replacement1. Turn the light switch OFF.
2. Carefully pry off the lenses (A) with a small screwdriver.
3. Remove the two mounting screws.
4. Disconnect the 2P connector (B) from the housing (C).
5. Check for continuity between the terminals in each switch position according to the table and the left mounting screw eyelet (D).
6. If the continuity is not as specified, check the bulb. If the bulb is OK, replace the spotlight assembly.