Curiosii for ever!: Car repair manuals for everyone.

Rear Controller and Screen

Rear Controller and Screen Removal/Installation

NOTE:
- Put on gloves to protect your hands.
- Take care not to scratch the headliner and display cover.




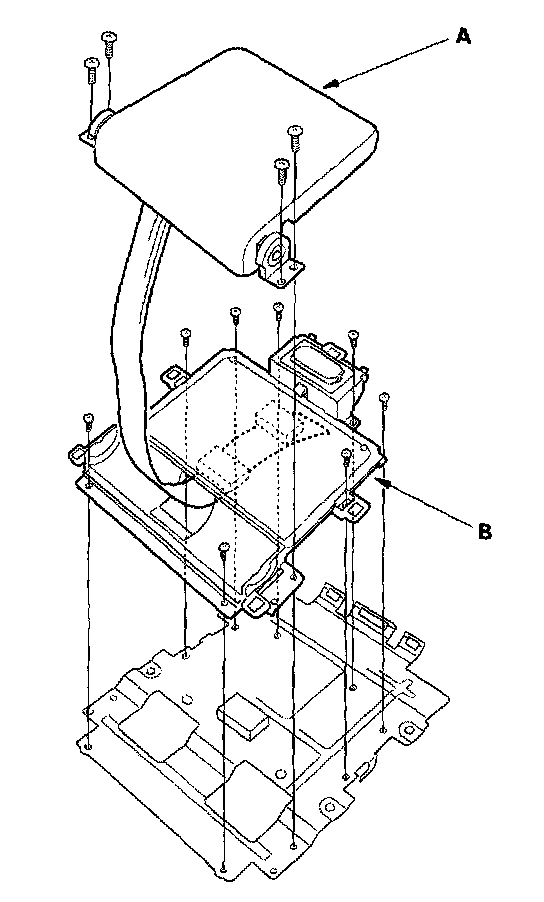
1. Remove the display cover (A).




2. Remove the mounting bolts (A).
3. Disconnect the connector (B) from the rear controller and screen
4. Remove the screws from the controller.




5. Disconnect the cable (A) from the controller (B).




6. Remove the screws, then remove the screen (A) and base (B).




7. Remove the screws and lock switch (A).
8. Install the parts in the reverse order of removal, and make sure the rear controller and screen connector is plugged in properly.