Curiosii for ever!: Car repair manuals for everyone.

Back Window Glass: Service and Repair

Rear Window Replacement

NOTE:
- Put on gloves to protect your hands.
- Wear eye protection while cutting the glass adhesive with a piano wire.
- Use seat covers to avoid damaging any surfaces.
- Do not damage the rear window defogger grid lines and terminals.

1. Remove these items:
- Tailgate trim panel
- Rear window wiper motor
- Tailgate spoiler trim




2. Disconnect the rear window defogger connectors (A).
3. If the old rear window will be reinstalled, make alignment marks across the glass and body with a grease pencil.
4. Apply protective tape along the inside and outside edges of the tailgate. Using an awl, make a hole through the adhesive from inside the vehicle at the corner portion of the glass. Push the piano wire through the hole, and wrap each end around a piece of wood.




5. With a helper on the outside, pull the piano wire (A) back and forth in a sawing motion. Hold the piano wire as close to the rear window (B) as possible to prevent damage to the tailgate, and carefully cut through the adhesive (C) around the entire rear window.
6. Carefully remove the rear window.
7. With a puny knife, scrape the old adhesive smooth to a thickness of about 2 mm (0.08 in.) on the bonding surface around the entire rear window opening flange:
- Do not scrape down to the painted surface of the body; damaged paint will interfere with proper bonding.
- Remove the fasteners from the tailgate.

8. Clean the tailgate bonding surface with a sponge dampened in alcohol. After cleaning, keep oil, grease, and water from getting on the surface.
9. If the old rear window will be reinstalled, use a putty knife to scrape off all of the old adhesive and rubber dam from the rear window. Clean the inside face and the edge of the rear window with alcohol where new adhesive will be applied. Make sure the bonding surface is kept free of water, oil, and grease.




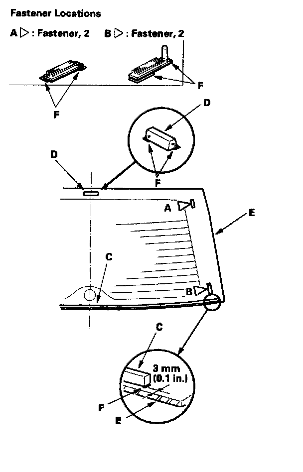
10. Attach the upper corner fasteners (A) with adhesive tape (3M 5312, or equivalent), lower corner fasteners (B) with adhesive tape (3M 5312, or equivalent), rubber dam (C) and spacer (D) with adhesive tape (NITTO 501M, equivalent) to the inside surface of the rear window (E) as shown:
- Be sure the fasteners and rubber dams line up with the alignment marks (F).
- Be careful not to touch the rear window where adhesive will be applied.




11. Attach the corner fasteners (A, B) with adhesive tape (3M 4213, or equivalent) to the tailgate as shown.




12. Set the rear window in the opening, and center it. Make alignment marks (A) across the rear window, tailgate, and body with a grease pencil at the four points shown. Be careful not to touch the rear window where adhesive will be applied.
13. Remove the rear window.




14. With a sponge, apply a light coat of glass primer to the edge of the rear window (A) along the rubber dam (B) as shown, then lightly wipe it off with gauze or cheesecloth:
- With the printed dots (C) on the rear window as a guide, apply the glass primer to both side portions of the rear window.
- Do not apply body primer to the rear window, and do not get tailgate and glass primer sponges mixed up.
- Never touch the primed surfaces with your hands If you do, the adhesive may not bond to the rear window properly, causing a leak after the rear window is installed.
- Keep water, dust, and abrasive materials away from the primed surfaces.




15. With a sponge, apply a light coat of body primer to the original adhesive remaining around the rear window opening flange. Let the body primer dry for at least 10 minutes:
- Do not apply glass primer to the body, and be careful not to mix up glass and body primer sponges.
- Never touch the primed surfaces with your hands.




16. Before filling a cartridge, cut a "V" in the end of the nozzle (A) as shown.




17. Pack adhesive into the cartridge without air pockets to ensure continuous delivery. Put the cartridge in a caulking gun, and run a bead of adhesive (A) on the glass primer trace (B) you applied on step 14, and around the edge of the rear window (C) as shown. Apply the adhesive within 30 minutes after applying the glass primer. Make a slightly thicker bead at each corner.
18. Use suction cups to hold the rear window over the opening, align it with the alignment marks you made in step 12, and set it down on the adhesive. Lightly push on the rear window until its edges are fully seated on the adhesive all the way around. Do not open or close the doors until the adhesive is dry.
19. Scrape or wipe the excess adhesive off with a putty knife or towel. To remove adhesive from a painted surface or the rear window, use a soft shop towel dampened with alcohol.
20. Let the adhesive dry for at least l hour, then spray water over the rear window and check for leaks. Mark the leaking areas, let the rear window dry, then seal with sealant. Let the vehicle stand for at least 4 hours after rear window installation. If the vehicle has to be used within the first 4 hours, it must be driven slowly.
21. Reinstall all remaining removed parts.

NOTE: Advise the customer not to do the following things for 2 to 3 days:

- Slam the doors with all the windows rolled up.
- Twist the body excessively (such as when going in and out of driveways at an angle or driving over rough, uneven roads).