Curiosii for ever!: Car repair manuals for everyone.

Maintenance: Diagrams







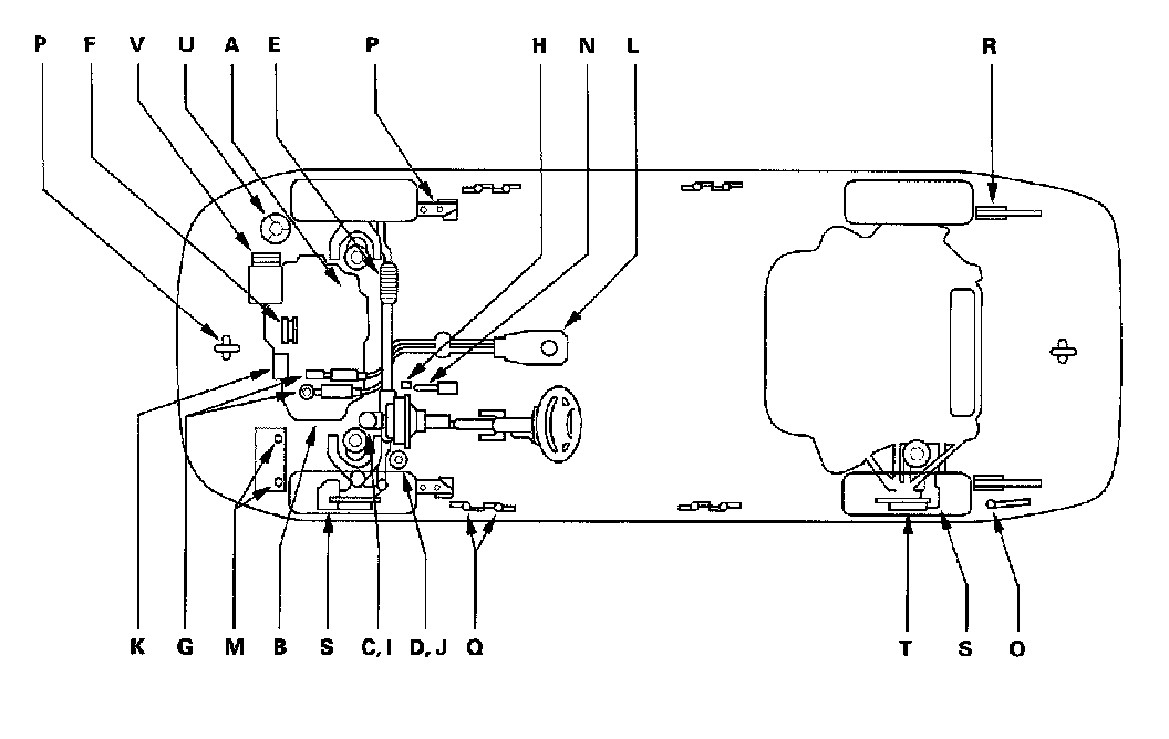
For details of lubrication points and type of lubricants to be applied, refer to the illustrated index and various work procedures (such as Assembly/Reassembly, Replacement, Overhaul, Installation, etc.) contained in each section.