Curiosii for ever!: Car repair manuals for everyone.

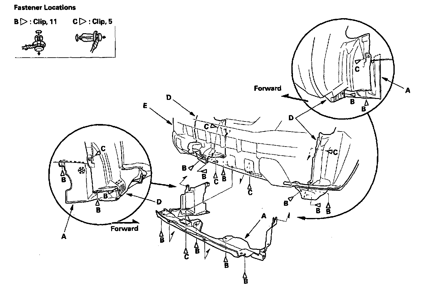
Splash Shield

Splash Shield Replacement

NOTE: Take care not to scratch the body.




1. Remove the splash shield (A).
1. From both wheel arch, remove the clips (B, C) securing the front inner fender (D) and splash shield (on the body).
2. From under the front bumper (E), remove the clips (B, C).
3. Pull the splash shield out.

2. Install the splash shield in the reverse order of removal, and note these items:
- Replace any damaged clips.
- Push the clips into place securely.