Curiosii for ever!: Car repair manuals for everyone.

Engine: Service and Repair

Removal

Special Tools Required
Front subframe adapter EQS02C000011

NOTE:
- Use fender covers to avoid damaging painted surfaces.
- To avoid damage, unplug the wiring connectors carefully while holding the connector portion.
- Mark all wiring and hoses to avoid misconnection. Also, be sure that they do not contact other wiring or hoses, or interfere with other parts.

1. Secure the hood in the vertical position by using a rope.
2. Make sure you have the anti-theft code for the radio, then write down the frequencies for the radio's preset buttons.
3. Disconnect the negative cable from the battery first, then the positive cable.





4. Disconnect the Intake Air Temperature (IAT) sensor connector (A).
5. Remove the vacuum hose (B) and breather pipe (C), then remove the intake air duct (D).
6. Remove the battery.
7. Remove the air cleaner housing.





8. Remove the harness clamps (A).
9. Remove the four bolts (B), and loosen the bolt (C) securing the battery base, then remove the battery base (D).





10. Remove the battery cables (A) and harness clamp (B) from the under-hood fuse/relay box.
11. Remove the ground cable (c).





12. Remove the throttle cable (A) and cruise control cable (B) by loosening the locknuts (C), then slipping the cable ends out of the accelerator linkage. Take care not to bend the cables when removing them. Always replace any kinked cable with a new one.
13. Relieve fuel pressure.





14. Remove the quick-connect fitting cover (A), then disconnect the fuel feed hose.





15. Remove the Evaporative Emission (EVAP) canister hose (A) and brake booster vacuum hose (B).





16. Disconnect the Engine Control Module (ECM)/ Powertrain Control Module (PCM) connectors (A) and main wire harness connector (B).





17. Remove the harness clamps (A) and grommet (B), then pull the engine wire harness through the bulkhead.
18. Remove the clutch slave cylinder, and clutch line bracket mounting bolt (M/T).
19. Remove the shift cable and select cable (M/T).
20. Remove the drive belt.





21. Remove the Power Steering (P/S) pump. Do not disconnect the P/S hoses from the pump.
22. Remove the P/S hose from the bracket on the cylinder head cover.
23. Remove the radiator cap.
24. Raise the hoist to full height.
25. Remove the front tires/wheels.





26. Remove the splash shield.
27. Loosen the drain plug in the radiator, and drain the engine coolant.
28. Drain the transmission fluid:
- Manual transmission.
- Automatic transmission.
29. Drain the engine oil.





30. Disconnect the air fuel ratio (A/F) sensor connector (A) and the secondary heated oxygen sensor (secondary HO2S) connector (B), then remove the Three Way Catalytic Converter (TWC) assembly (C).
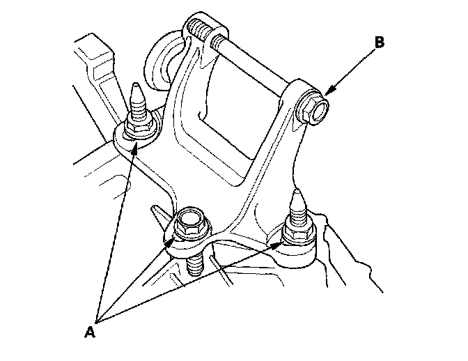
31. Disconnect the stabilizer links.
32. Disconnect the suspension lower arm ball joints.
33. Remove the driveshafts. Coat all precision-finished surfaces with clean engine oil. Tie plastic bags over the driveshaft ends.
34. Remove the shift cable (A/T).
35. Remove the propeller shaft from the transfer assembly (4WD).
36. Lower the hoist.





37. Remove the automatic transmission fluid (ATF) cooler hoses(A) and ATF filter mounting bolt (B) (A/T).





38. Remove the upper radiator hose (A) and heater hoses (B).





39. Clean the dirt off the quick connector (A), thermostat cover, and lower radiator hose.
40. Pull out the lock (B) by hand, then wiggle the quick connector to remove it from the thermostat cover. Do not use any tools to remove the quick connector.





41. Remove the bolt securing the P/S line (A/T).
42. Support the transmission with a jack and wood block (A/T).





43. Remove the transmission mount (A/T).





44. Loosen the transmission mount bracket support bolt/nuts (A), and move the transmission mount bracket to the engine until the transmission mount bracket contacts the stud bolts, then tighten the bolt/nuts.
45. Install the transmission mount mounting bolt (B).





46. Attach the chain hoist to the engine as shown.
47. Remove a jack (A/T).





48. Remove the transmission mount bracket support bolt/nuts (M/T).





49. Remove the upper engine mount bracket bolt and nut.
50. Make sure the hoist brackets are positioned properly. Raise the hoist to full height.





51. Remove the rear mount mounting bolts.





52. Remove the front mount mounting bolt.





53. Make the appropriate reference lines at positions (A) and (B) that line up with the center of each subframe mounting bolt (C).





54. Attach the special tool to the subframe with hanging the hook of the special tool over the front of the subframe, then tighten the special tool screw.
55. Raise the jack and line up the slots in the arms with the bolt holes on the corner of the jack base, then attach them with the bolts securely.





56. Remove the four subframe mounting bolts, then lower the subframe.





57. Remove the A/C compressor without disconnecting the A/C hoses.
58. Check that the engine/transmission is completely free of vacuum hoses, fuel and coolant hoses, and electrical wiring.
59. Slowly lower the engine about 150 mm (6 inch). Check once again that all hoses and wires are disconnected from the engine/transmission.
60. Lower the engine all the way. Remove the chain hoist from the engine.
61. Remove the engine from under the vehicle.

Installation

Special Tools Required
Front subframe adapter EQS02C000011





1. Install the accessory brackets, and tighten their bolts and nuts to the specified torques.
2. Position the engine under the vehicle. Attach the chain hoist to the engine, then lift the engine into position in the vehicle.

NOTICE: Reinstall the mounting bolts/support nuts in the sequence given. Failure to follow this sequence may cause excessive noise and vibration, and reduce bushing life.





3. Install the A/C compressor.





4. Support the subframe (A) with the special tool and a jack, and lift it up to body.
5. Loosely install the new subframe mounting bolts. Remove the special tool.





6. Align the reference marks (A) with the center of the subframe mounting bolts (B), then tighten the bolts to the specified torque.





7. Loosely install the new front mount mounting bolt.





8. Tighten the rear mount mounting bolts.
9. Lower the hoist.





10. Tighten the upper engine mount bracket bolt and nut.





11. Tighten the transmission mount bracket support bolt/nuts (M/T).
12. Support the transmission with a jack and wood block (A/T).
13. Remove the chain hoist from the engine (A/T).





14. Remove and discard the transmission mount mounting bolt (A), and loosen the transmission mount bracket support bolt/nuts (B) (A/T).





15. Install the transmission mount and all bolts/nuts, then tighten the bolts/nuts in the numbered sequence shown (A/T).
16. Remove the jack (A/T).
17. Raise the hoist to its full height.





18. Tighten the front mount mounting bolt.
19. Install the propeller shaft on the transfer assembly (4WD).
20. Install the shift cable (A/T).
21. Install a new set ring on the end of each driveshaft, then install the driveshafts. Make sure each ring "clicks" into place on the differential and intermediate shaft.
22. Connect the suspension lower arm ball joints.
23. Connect the stabilizer links.





24. Install the Three Way Catalytic Converter (TWC) assembly (A); use new gaskets (B).
25. Connect the air fuel ratio (A/F) sensor connector (c) and the secondary heated oxygen sensor (secondary HO2S) connector (D).





26. Install the splash shield.
27. Lower the hoist.





28. Tighten the bolt securing the Power Steering (P/S) line (A/T).





29. Check the quick connector (A) and set ring (B) for cracks or damage. If the connector and/or set ring are cracked or damaged, replace the connector.
30. Make sure the set ring is in place inside the quick connector. If the set ring is off the connector, replace the quick connector.
31. Replace the O-ring (C) in the quick connector.
32. Check the lock (D) for damage or deformation. If the lock is damaged or deformed, replace it. When installing the new lock to the connector, push it straight down along the groove.
33. Clean the connecting surface of the thermostat cover (E), then apply clean engine coolant around the connecting surface.





34. Push the lock (A) down, then push the quick connector (B) onto the thermostat cover until you hear it click.





35. Install the upper radiator hose (A) and heater hoses (B).





36. Install the Automatic Transmission Fluid (ATF) cooler hoses (A) and ATF filter mounting bolt (B) (ACT).





37. Install the P/S pump.
38. Install the drive belt.
39. Install the shin cable and select cable (M/T).
40. Install the clutch slave cylinder, and clutch line bracket mounting bolt (M/T).





41. Push the Engine Control Module (ECM)/Powertrain Control Module (PCM) connector through the bulkhead, then install the grommet (A).
42. Install the harness clamps (B).





43. Connect the ECM/PCM connectors (A) and main wire harness connector (B).





44. Install the Evaporative Emission (EVAP) canister hose (A) and brake booster vacuum hose (B).





45. Connect the fuel feed hose, then install the quick-connect fitting cover (A).





46. Install the battery cables (A) and harness clamp (B) to the under-hood fuse/relay box.
47. Install the ground cable (C).
48. Install the throttle cable, then adjust the cable.
49. Install the cruise control cable, then adjust the cable.





50. Install the battery base (A), then install the harness clamps (B).
51. Install the air cleaner housing.





52. Install the intake air duct (A), then connect the Intake Air Temperature (IAT) sensor connector (B), and install the vacuum hose (C) and breather pipe (D).
53. Install the battery. Clean the battery posts and cable terminals with sandpaper, then assemble them and apply grease to prevent corrosion.
54. Move the shift lever to each gear, and verify that the A/T gear position indicator follows the transmission range switch (A/T).
55. Check that the transmission shifts into gear smoothly (M/T).
56. Inspect for fuel leaks. Turn the ignition switch ON (II) (do not operate the starter) so the fuel pump runs for about 2 seconds and pressurizes the fuel line. Repeat this operation two or three times, then check for fuel leakage at any point in the fuel line.
57. Refill the engine with engine oil.
58. Refill the transmission with fluid:
- Manual transmission.
- Automatic transmission.
59. Refill the radiator with engine coolant, and bleed air from the cooling system with the heater valve open.
60. Perform the ECM/PCM reset procedure.
61. Perform the Crankshaft Position (CKP) pattern clear/CKP pattern learn procedure.
62. Perform the ECM/PCM idle learn procedure, and power window control unit reset procedure.
63. Inspect the idle speed.
64. Inspect the ignition timing.
65. Enter the anti-theft codes for the radio, then enter the customer's radio station presets.
66. Set the clock.