Curiosii for ever!: Car repair manuals for everyone.

Tailgate Latch Switch Test

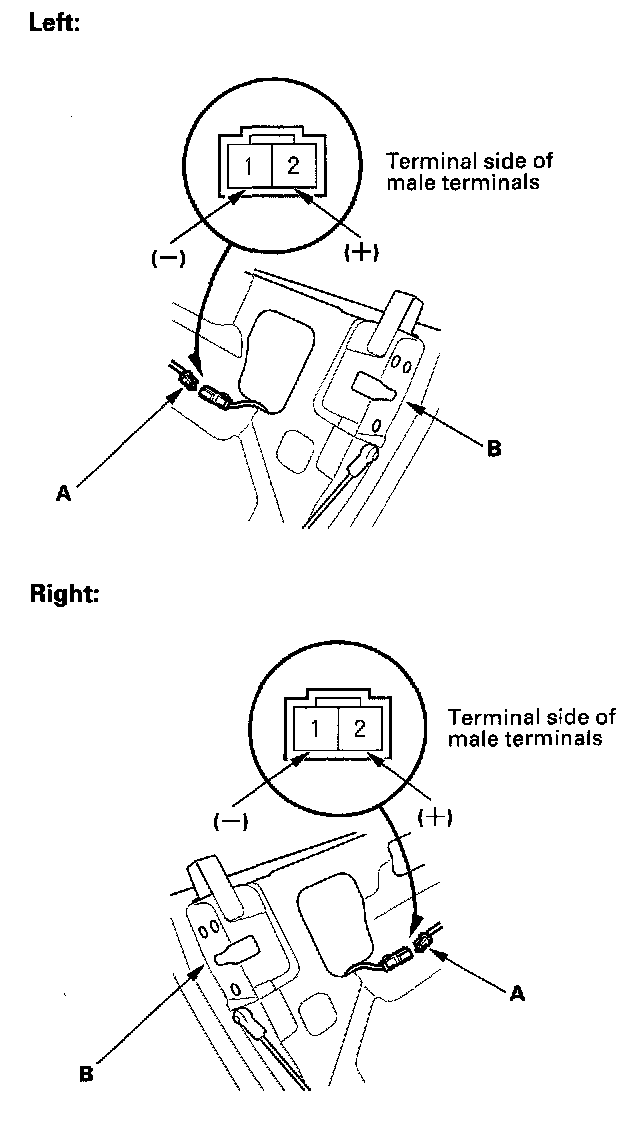
Tailgate Latch Switch Test

1. Open the tailgate and remove the tailgate trim panel.




2. Disconnect the 2P connector (A) from the each tailgate latch switch (B).
3. Check for continuity between the each tailgate latch switch 2P connector terminals No. 1 and No. 2.
- There should be continuity with the tailgate open.
- There should be no continuity with the tailgate closed.

4. If the continuity is not as specified, replace the switch.