Curiosii for ever!
: Car repair manuals for everyone.
Home
>>
Honda Truck
>>
2000
>>
Odyssey EX V6-3.5L
>>
Repair and Diagnosis
>>
Specifications
>>
Mechanical Specifications
>>
Engine
>>
Cylinder Block Assembly
>>
System Specifications
>>
Torque Specifications
Torque Specifications
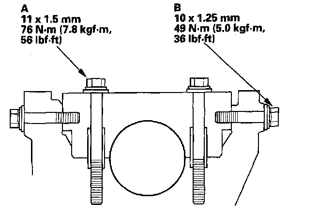
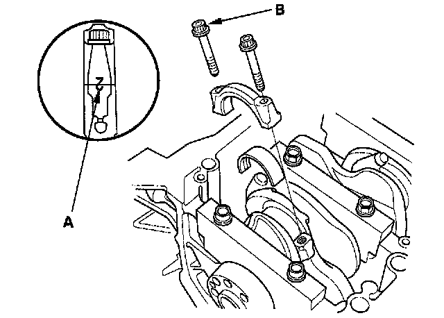
Main Bearing Cap Torque and Tightening Sequence
Connecting Rod Bolt 20 Nm (2.0 kgf.m, 14 ft. lbs.)
Crankshaft Pulley
Torque
245 Nm (25.0 kgf-m, 181 ft. lbs.)
A/T Flex Plate