Curiosii for ever!: Car repair manuals for everyone.

Alignment: Service and Repair

Front Caster Inspection
For proper inspection/adjustment of the wheel alignment, check and adjust the following before checking the alignment:
- Check that the suspension is not modified.
- Check the tire size and tire pressure.
- Check the runout of the wheels and tires.
- Check the suspension ball joints. (Hold a wheel with your hands, and move it up and down and right and left to check for wobbling.)





Use commercially-available computerized four wheel alignment equipment to measure wheel alignment (caster, camber, toe, and/or turning angle). Follow the equipment manufacturer's instructions.
1. Check the caster angle.
Caster angle: 2°07' ± 1°
2. If out of specification, check for bent or damaged suspension components.

Front Camber Inspection
Use commercially-available computerized four wheel alignment equipment to measure wheel alignment (caster, camber, toe, and/or turning angle). Follow the equipment manufacturer's instructions.
1. Check the camber angle.
Camber angle:
Front: 0°00' ± 1°
Rear: 0°30' ± 45'
2. If out of specification, record the camber reading, then adjust the camber.

Front Camber Adjustment





The front camber can be adjusted by exchanging one or both of the damper pinch bolts with a smaller diameter adjusting bolt, P/N 90120-S0X-A00. The difference between the adjusting bolt diameter and the pinch bolt hole diameter allows for a small range of adjustment.
1. Measure the camber angle.
Camber angle: 0°00' ± 1°
(Maximum difference between the right and left side: 1°00')
2. If the measurement is outside the specification, go to step 3, and adjust the camber angle.
3. Raise the front of the vehicle, and make sure it is securely supported. Remove the front wheels.





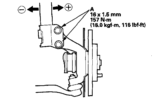
4. Loosen the flange nuts (A), and adjust the camber by moving the bottom of the damper within the range of the damper pinch bolt free play. Tighten the flange nuts to the specified torque.
5. Reinstall the front wheels. Lower the front of the vehicle to the ground, and bounce the front of the vehicle several times to stabilize the suspension.
6. Measure the camber angle.
- If the measurement is within specification, measure the toe-in.
- If the measurement is not within specification, go to step 7.
7. Raise the front of the vehicle, and make sure it is securely supported. Remove the front wheels.





8. Replace the damper pinch bolts with the adjusting bolts (A), and adjust the camber angle.

NOTE: The camber angle can be adjusted up to ± 30' (center of tolerance) by replacing one damper pinch bolt with the adjusting bolt. The camber angle can be adjusted up to 1°00' by replacing both damper pinch bolts with the adjusting bolts.

9. Tighten the flange nuts to the specified torque.
10. Install the front wheels, and torque the wheel nuts to 108 Nm (80 ft. lbs.).
11. Lower the vehicle to the ground, and bounce the front of the vehicle several times to stabilize the suspension.
12. Measure the camber angle. If the camber angle is not within specification, repeat steps 8 though 12 to readjust the camber angle. If the camber measurement is correct, measure toe-in, and adjust it if necessary.

Front Toe Inspection/Adjustment
Use commercially-available computerized four wheel alignment equipment to measure wheel alignment (caster, camber, toe, and/or turning angle). Follow the equipment manufacturer's instructions.
1. Check the tire pressure.
2. Center the steering wheel spokes.
3. Check the toe with the wheels pointed straight ahead.
Front toe: 0 ± 2 mm (0 ± 0.08 inch)
- If adjustment is required, go on to step 4.
- If no adjustment is required, remove the alignment equipment.





4. Loosen the tie-rod locknuts (A), and turn both tie rods (B) in the same direction until the front wheels are pointing straight ahead.
5. Turn both tie-rods equally until the toe reading on the turning radius gauge is correct.
6. After adjusting, tighten the tie-rod locknuts. Reposition the tie-rod boot if it is twisted or displaced.

Rear Toe Inspection/Adjustment
Use commercially-available computerized four wheel alignment equipment to measure wheel alignment (caster, camber, toe, and/or turning angle). Follow the equipment manufacturer's instructions.
1. Release the parking brake to avoid an incorrect measurement.
2. Check the toe.
Rear toe: 0 ± 2 mm (0 ± 0.08 inch)
- If adjustment is required, go to step 3.
- If no adjustment is required, remove the alignment equipment.





3. Hold the adjusting bolt (A) on the rear lower arm B, and loosen the self-locking nut (B).
4. Adjust the rear toe by turning the adjusting bolt until the toe is correct.
5. Install the self-locking nut, and tighten it while holding the adjusting bolt.

Turning Angle Inspection
Use commercially-available computerized four wheel alignment equipment to measure wheel alignment (caster, camber, toe, and/or turning angle). Follow the equipment manufacturer's instructions.





1. Turn the wheel right and left while applying the brake, and measure the turning angle of both wheels.
2. If the turning angle is not within the specifications, check for bent or damaged suspension components.