Curiosii for ever!: Car repair manuals for everyone.

Front End Discriminating Sensor - Revised DTC Charts

File In Section: 9 Accessories

Bulletin No.: 63-90-06

Date: April, 1996

SERVICE MANUAL UPDATE

Subject:
Section 9J - Revised Schematics, Text, and DTC Charts 35 and 36 to Correct the Front End Discriminating Sensor Resistance Value

Model:
1996 Geo Metro





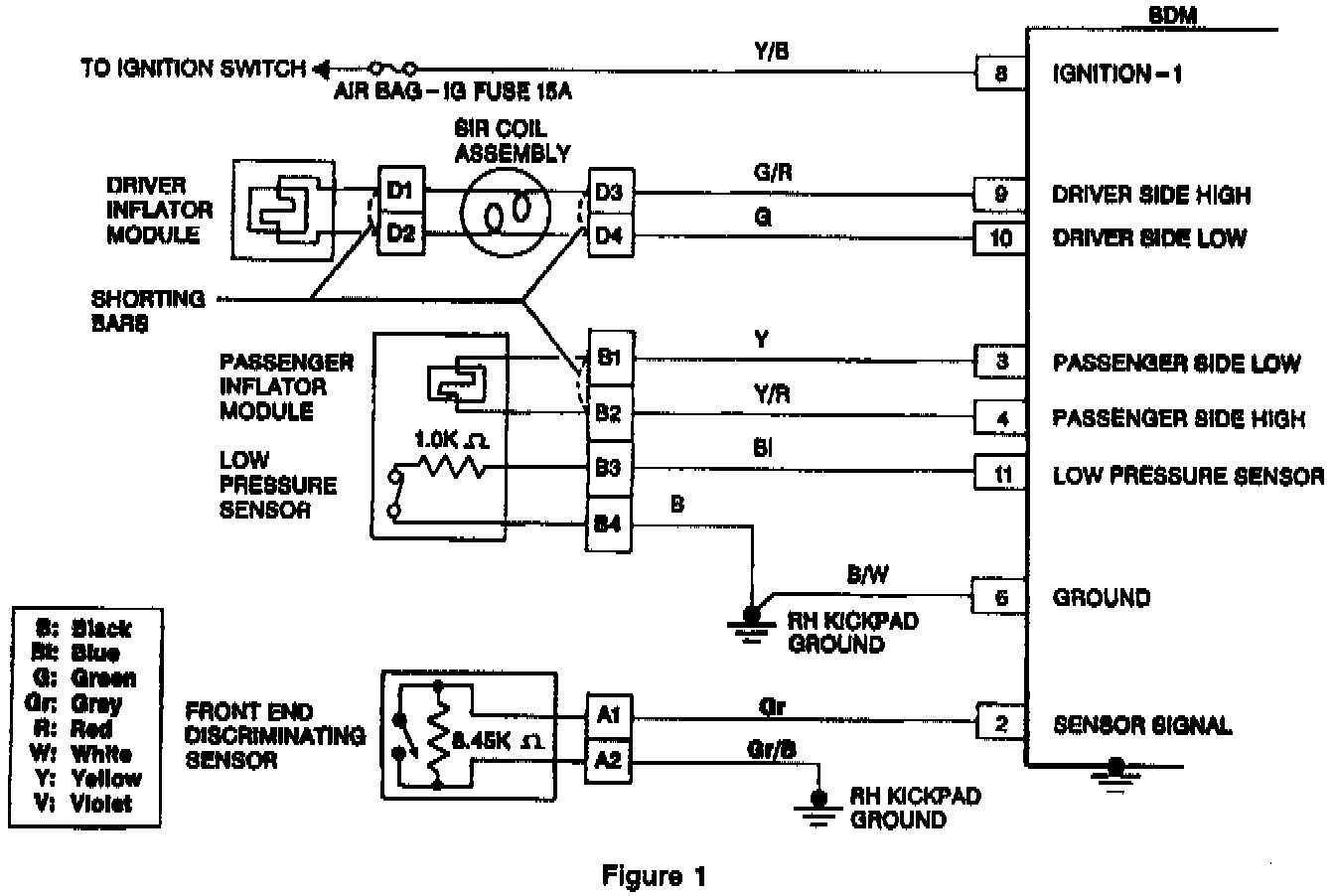
This bulletin is being issued to revise all thumbnail schematics in Section 9J of the Service Manual (see Figure 1). The front end discriminating sensor diagnostic resistor should be 8.45 ohms. It also updates step 1 of the DTC 35 chart on page 9J-47 and step 1 of the DTC 36 chart on page 9J-49 (see Attachments 1 & 2).

The facing page "Circuit Description" for DTC 35 and 36 is also updated as follows:




ATTACHMENT 1

DTC 35

Circuit Description

When the ignition switch is turned to "ON", the SDM will perform tests to diagnose critical malfunctions within itself. Upon passing these tests, "Ignition 1", 23 VLR and deployment loop voltages are measured to ensure they are within their respective normal voltage ranges. The SDM then proceeds to "Continuous Monitoring". The SDM contains a resistor network connected to "Ignition 1", ground, and to SDM "Sensor Signal" terminal "2".
The 8.45K ohms resistor in the front end discriminating sensor parallel to the normally open switch provides a parallel path to ground causing a specified percentage of voltage to appear at the SDM "Sensor Signal" input. This voltage is monitored to detect shorts to ground or a closed discriminating sensor.




ATTACHMENT 2

DTC 36

Circuit Description

When the ignition switch is turned to "ON", the SDM will perform tests to diagnose critical malfunctions within itself. Upon passing these tests, "Ignition 1", 23 VLR and deployment loop voltages are measured to ensure they are within their respective normal voltage ranges. The SDM then proceeds to "Continuous Monitoring". The SDM contains a resistor network connected to "Ignition 1", ground, and to SDM "Sensor Signal" terminal "2".
The 8.45K ohms resistor in the front end discriminating sensor parallel to the normally open switch provides a parallel path to ground causing a specified percentage of voltage to appear at the SDM "Sensor Signal" input. This voltage is monitored to detect shorts to voltage or an open discriminating sensor circuit.