Curiosii for ever!: Car repair manuals for everyone.

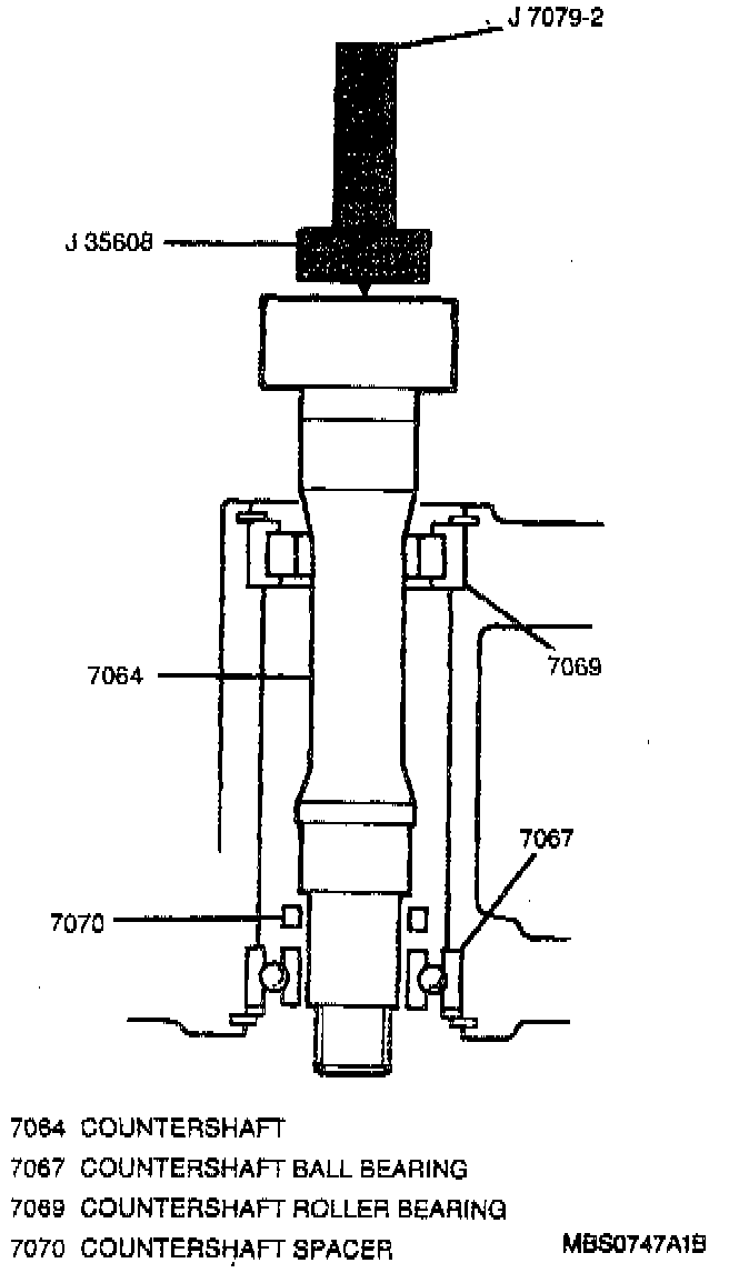
Countershaft






INSTALL OR CONNECT

^ Tools Required:
- J 7079-2 Driver Handle
- J 35608 Countershaft Installer

1. Countershaft into transaxle case. Using a J 35608 with a J 7079-2, insert the Countershaft into the transaxle case making sure the roller bearing spacer is in the correct position. Then tap the Countershaft into the transaxle case. DO NOT hammer excessively or damage to the transaxle case could result.