Curiosii for ever!
: Car repair manuals for everyone.
Home
>>
Geo
>>
1995
>>
Metro L4-079 1.3L VIN 9 TBI
>>
Repair and Diagnosis
>>
Specifications
>>
Electrical Specifications
>>
Fuse Block
>>
Junction Block
Junction Block
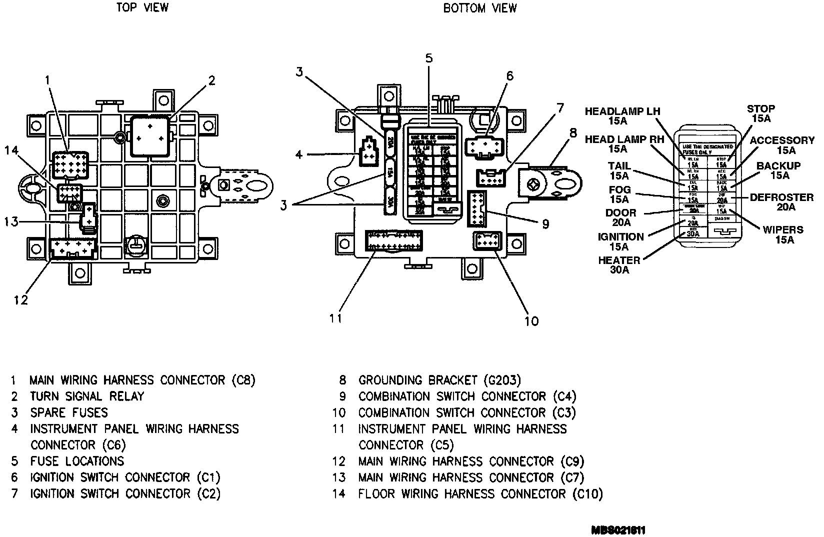
Fuse Block Details - Junction Block: