Curiosii for ever!: Car repair manuals for everyone.

Cranking Signal: Testing and Inspection

DTC 43 Diagnostic Chart:




Crank Signal Circuit:






Circuit Description:
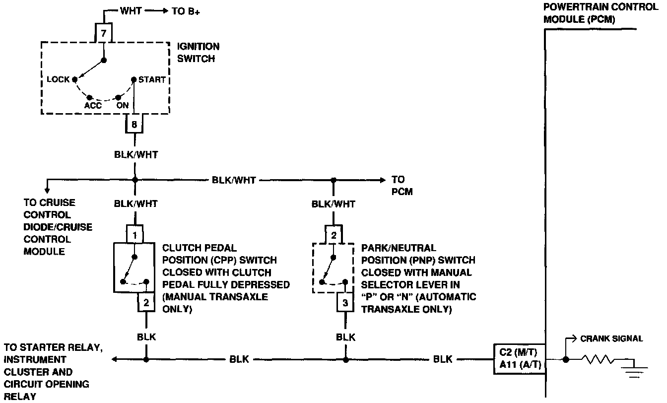
The powertrain control module (PCM) receives a signal whenever the ignition switch is in the "START" position. The PCM uses this signal, along with others, to determine the injection time of the fuel injectors. If this signal is not detected during ignition, the PCM will still allow the engine to be started, but DTC 43 will be set.

DTC 43 will set if the following condition is met:
^ Crank signal not detected at the PCM during ignition.

Test Description:
Number below refers to circled number on the diagnostic chart.

1. This checks for an open in the BLK wire between the CPP switch (manual transaxle models) or the PNP switch (automatic transaxle models) and the PCM or for a faulty PCM.

Diagnostic Aids:
An intermittent may be caused by a poor connection, rubbed through wire insulation, or a wire broken inside the insulation. Inspect hamess connectors for backed out terminals, improper mating, broken locks, improperly formed or damaged terminals and poor terminal-to-wire connections before component replacement.