Curiosii for ever!: Car repair manuals for everyone.

Fuel Tank Fuel Pump Module Replacement




Fuel Tank Fuel Pump Module Replacement

Special Tools

J-45722 - Fuel Tank Sender Wrench

For equivalent regional tools, refer to Special Tools Tools and Equipment.

Removal Procedure

1. Remove the fuel tank. Refer to Fuel Tank Replacement (AWD) Fuel Tank Replacement (AWD)Fuel Tank Replacement (FWD) Fuel Tank Replacement (FWD).

Warning:
Refer to Gasoline/Gasoline Vapors Warning Service Precautions.


2. Disconnect the crossover tube from the secondary fuel pump module. Refer to Fuel Tank Fuel Pump Module Replacement - Secondary (With Out) Fuel Tank Fuel Pump Module Replacement - Secondary (With Out).





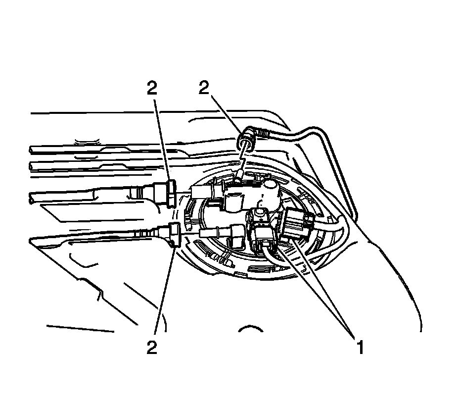
3. Disconnect the electrical connectors (1).

4. Disconnect the fuel and evaporative emission lines (2). Refer to Plastic Collar Quick Connect Fitting Service Service and Repair.





5. Using the J-45722 - wrench, remove the cam lock ring (1) by turning counterclockwise.





6. Remove the primary fuel tank module (1) and the O-ring (2).

7. If replacing the fuel pump module only, remove the primary fuel level sensor. Refer to Primary Fuel Level Sensor Replacement Primary Fuel Level Sensor Replacement.

Installation Procedure





1. If replacing the fuel pump module only, install the primary fuel level sensor. Refer to Primary Fuel Level Sensor Replacement Primary Fuel Level Sensor Replacement.

2. Install a NEW O-ring (2) and the primary fuel tank module (1).





3. Using the J-45722 - wrench, install the cam lock ring (1) by turning clockwise.





4. Connect the electrical connectors (1).

5. Connect the fuel and evaporative emission lines (2). Refer to Plastic Collar Quick Connect Fitting Service Service and Repair.

6. Connect the crossover tube to the secondary fuel pump module. Refer to Fuel Tank Fuel Pump Module Replacement - Secondary (With Out) Fuel Tank Fuel Pump Module Replacement - Secondary (With Out).

7. Install the fuel tank. Refer to Fuel Tank Replacement (AWD) Fuel Tank Replacement (AWD)Fuel Tank Replacement (FWD) Fuel Tank Replacement (FWD).