Curiosii for ever!
: Car repair manuals for everyone.
Home
>>
GMC Truck
>>
2012
>>
Terrain AWD L4-2.4L
>>
Repair and Diagnosis
>>
Diagrams
>>
Connector Views
>>
Air Bag Control Module
>>
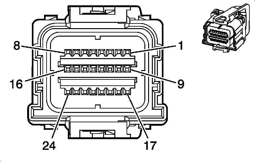
Inflatable Restraint Sensing and Diagnostic Module X1
Inflatable Restraint Sensing and Diagnostic Module X1
Component Connector End Views
K36 Inflatable Restraint Sensing and Diagnostic Module X1