Curiosii for ever!: Car repair manuals for everyone.

Behind the Engine Components




Powertrain Component Views

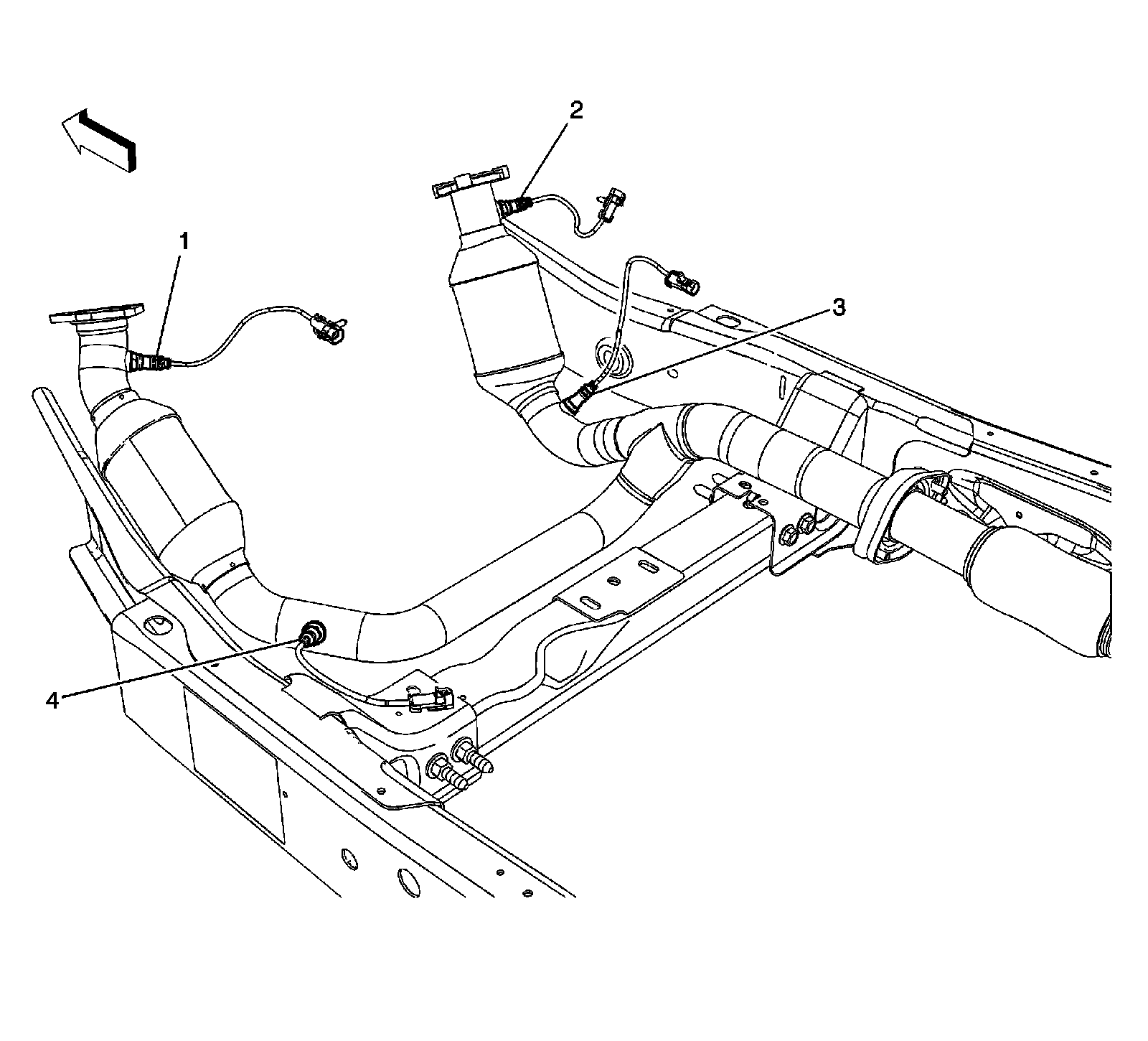
Behind the Engine Components (L20, L96, L9H, LC9 or LMG)




1 - Heated Oxygen Sensor (HO2S) - Bank 1 Sensor 1
2 - Heated Oxygen Sensor (HO2S) - Bank 2 Sensor 1
3 - Heated Oxygen Sensor (HO2S) - Bank 2 Sensor 2
4 - Heated Oxygen Sensor (HO2S) - Bank 1 Sensor 2