Curiosii for ever!
: Car repair manuals for everyone.
Home
>>
GMC Truck
>>
2012
>>
Savana 3500 V8-6.6L DSL Turbo
>>
Repair and Diagnosis
>>
Diagrams
>>
Connector Views
>>
Glow Plug Control Module
>>
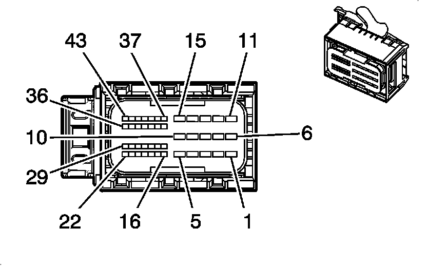
Glow Plug Control Module (GPCM) X2
Glow Plug Control Module (GPCM) X2
Component Connector End Views
Glow Plug Control Module
(GPCM) X2 (LGH)