Curiosii for ever!
: Car repair manuals for everyone.
Home
>>
GMC Truck
>>
2009
>>
Sierra Denali AWD V8-6.2L
>>
Repair and Diagnosis
>>
Transmission and Drivetrain
>>
Power Take-Off
>>
Service and Repair
>>
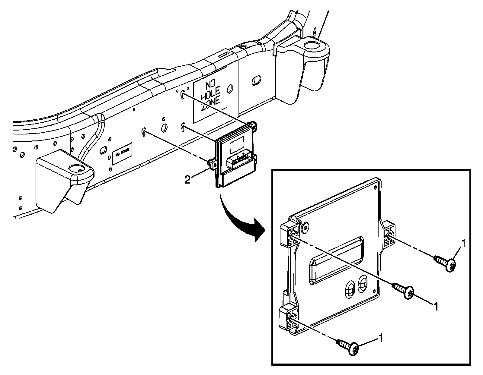
Engine Speed Power Take-Off Control Module Replacement
Engine Speed Power Take-Off Control Module Replacement
Engine Speed
Power Take-Off
Control Module Replacement