Curiosii for ever!: Car repair manuals for everyone.

Oil Pressure Sensor: Service and Repair



Engine Oil Pressure Sensor and/or Switch Replacement

Tools Required

J 41712 Oil Pressure Switch Socket


Removal Procedure





1. Remove the intake manifold. Refer to Intake Manifold Replacement (6.0L) (Service and Repair)Intake Manifold Replacement (5.3L) (Service and Repair) .
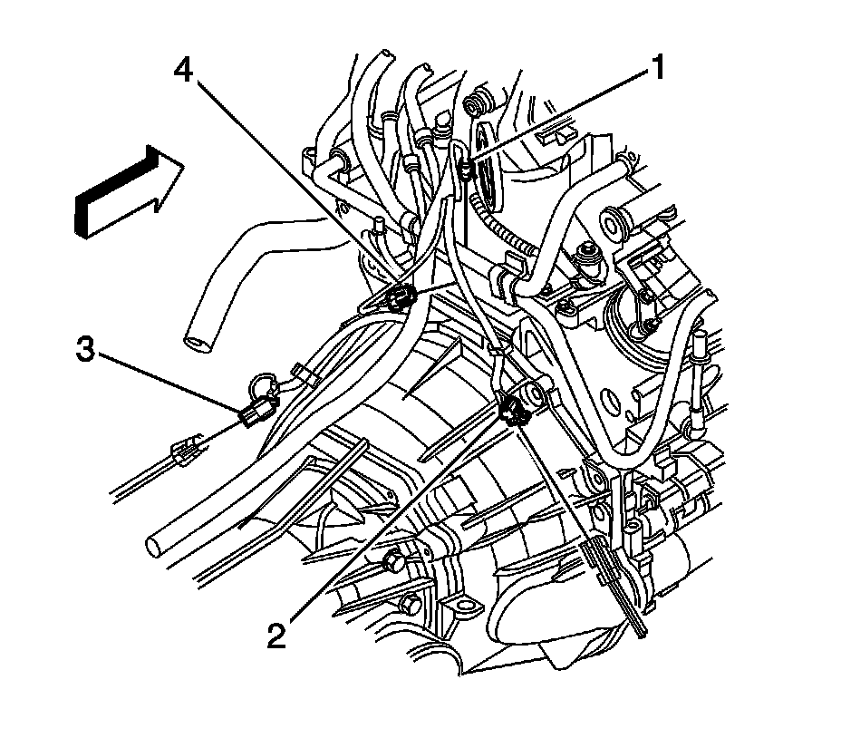
2. Disconnect the oil pressure sensor electrical connector (1).




3. Using J 41712 or equivalent, remove the oil pressure sensor.



Installation Procedure





1. Apply sealant to the threads of the oil pressure sensor. Refer to Sealers, Adhesives, and Lubricants (Specifications) for the correct part number.
Notice: Refer to Fastener Notice .


2. Using J 41712 or equivalent, install the oil pressure sensor.

Tighten the sensor to 20 N.m (15 lb ft).





3. Connect the oil pressure sensor electrical connector (1).
4. Install the intake manifold. Refer to Intake Manifold Replacement (6.0L) (Service and Repair)Intake Manifold Replacement (5.3L) (Service and Repair) .