Curiosii for ever!: Car repair manuals for everyone.

Front Fender Replacement



Front Fender Replacement

Removal Procedure

Notice: When removing body panels, apply tape to corners of panel and adjacent surfaces to help prevent paint damage.

1. Apply protective tape to the front edge of the front door and the rear edge of the front bumper fascia.
2. Remove the wheelhouse liner.
3. Remove the rocker panel molding.
4. Remove the front bumper bracket.




5. Remove the side hood bumper from the vehicle.




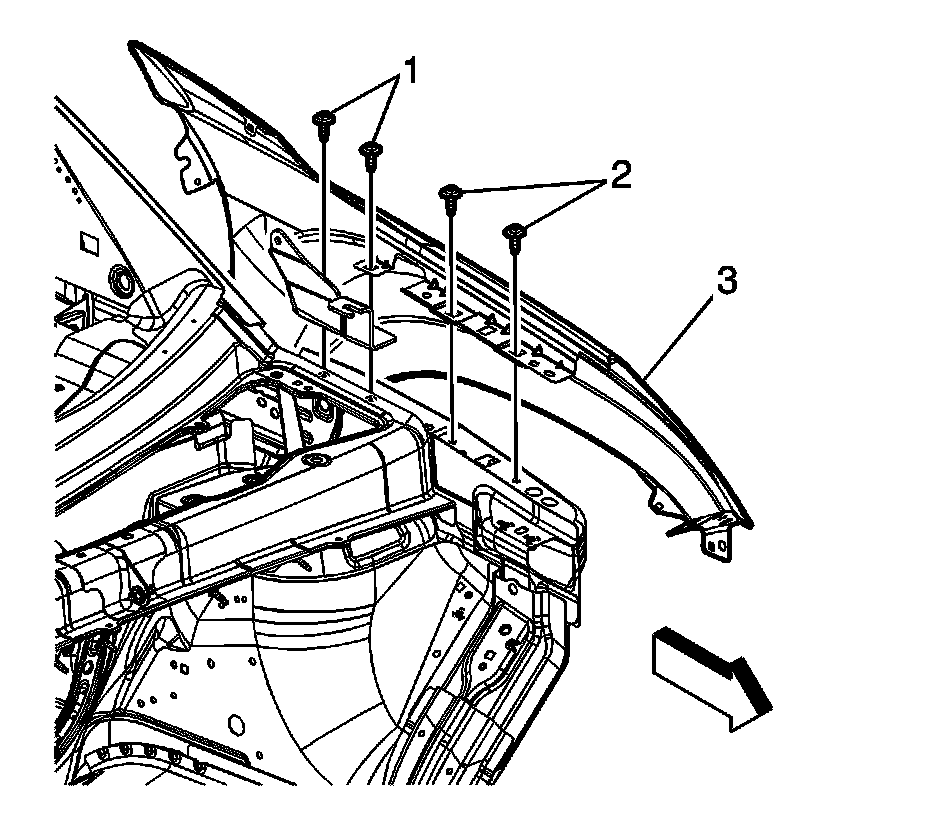
6. Remove the bolt (1) between the rear of the fender and the door.




7. Remove the bolts (1, 2) that retain the fender (3) to the vehicle.
8. Remove the fender from the vehicle.

Installation Procedure




1. Position the fender to the vehicle.

Notice: Refer to Fastener Notice.

2. Install the bolts (1, 2) that retain the fender (3) to the vehicle.

Tighten the bolts to 10 N.m (89 lb in).




3. Install the hood bumper to the vehicle.
4. Install the front bumper bracket.
5. Install the rocker panel molding.
6. Install the wheelhouse liner.
7. Remove the protective tape.