Curiosii for ever!: Car repair manuals for everyone.

Part 2



Thread Repair Specifications

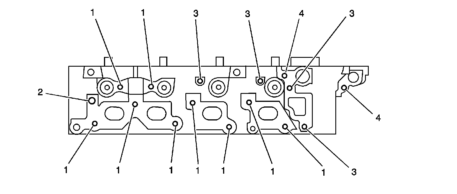
Cylinder Head - Exhaust Manifold Deck View:




Cylinder Head - Exhaust Manifold Deck View:




Oil Pan - Bottom View:




Oil Pan - Bottom View:




Oil Pan - Rear View:




Oil Pan - Rear View:




Engine Front Cover:




Engine Front Cover:




Crankshaft Rear Oil Seal Housing:




Crankshaft Rear Oil Seal Housing: